EasyManua.ls Logo

Simoco Xfin Blade - Description

Default Icon
76 pages
Print Icon
To Next Page IconTo Next Page
To Next Page IconTo Next Page
To Previous Page IconTo Previous Page
To Previous Page IconTo Previous Page
Loading...
PAGE 24 TECHNICAL DESCRIPTION
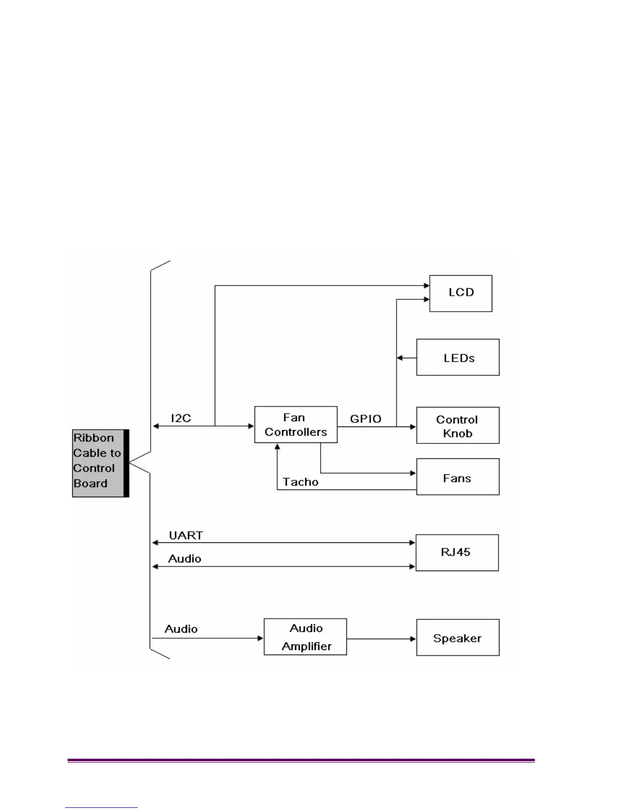
4.1.1 Description
The purpose of the MMI board is to provide the Man Machine Interface between the
control card and the user.
The MMI board contains 5 LEDs for user diagnostics. It contains an LCD for displaying an
interactive menu, which is accessed via a control knob. An audio amplifier is provided to
drive a loud speaker at up to 2W, with volume adjustment via the control knob. An RJ45
interface for a serial port is also present.
The MMI board has a secondary function of providing the interface and drivers for the
fans.
Connection to the main control board is via a 14-way ribbon cable.
Fi
g
ure 4.2
Block Dia
g
ram of MMI Board

Table of Contents