EasyManua.ls Logo

Simplicity 1600 Series - Page 44

Simplicity 1600 Series
88 pages
Print Icon
To Next Page IconTo Next Page
To Next Page IconTo Next Page
To Previous Page IconTo Previous Page
To Previous Page IconTo Previous Page
Loading...
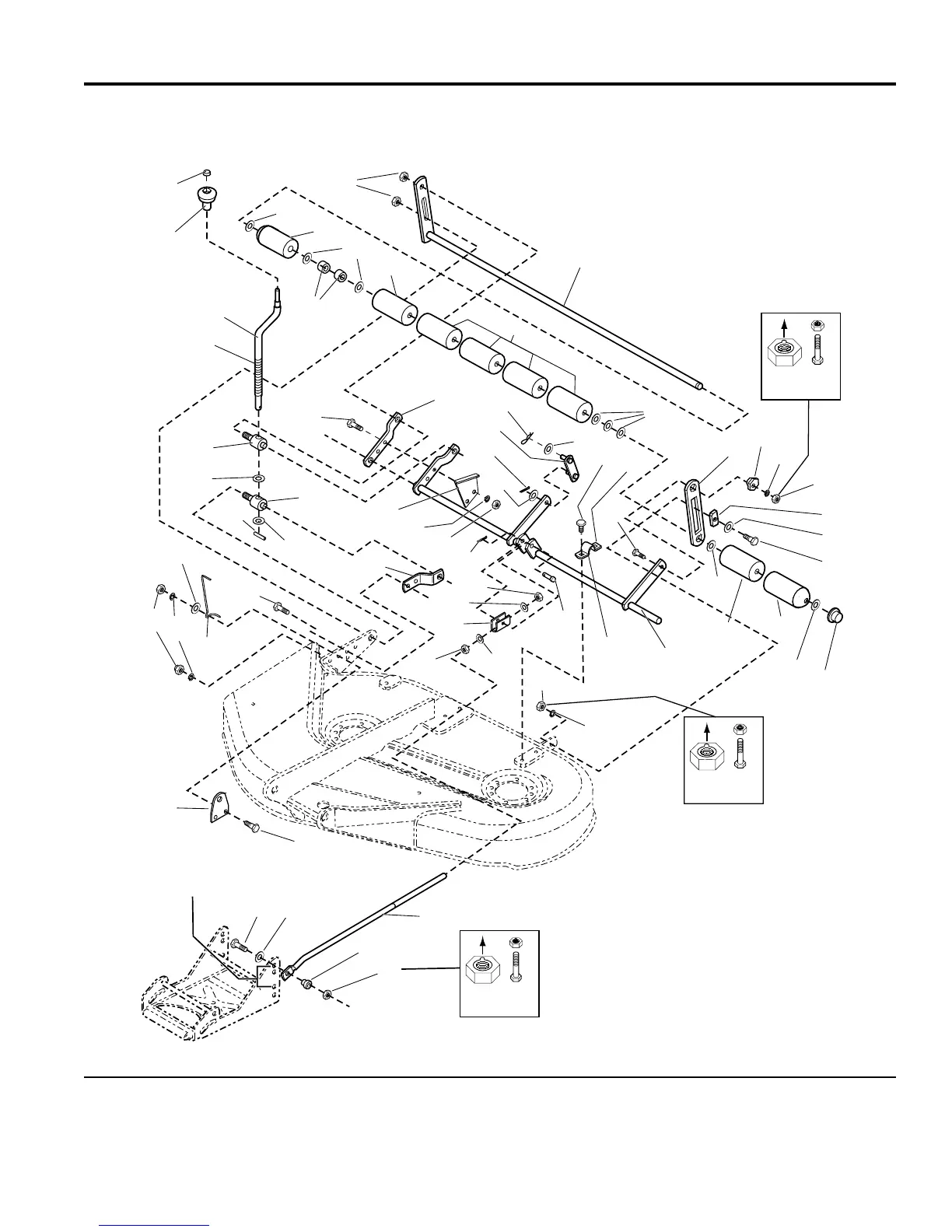
38" Mower Deck - Height Adjustment & Roller Bar
NOTE: Unless noted otherwise,
use the standard hardware torque
specification chart.
GREASE
Insert Must
Face Out
Insert Must
Face Out
GREASE
Insert Must
Face Out
Mount Hitch Assembly and
Leveling Adjustment Rod
using upper set of holes
1
1
2
3
47
3
3
5
5
4
4
33
3
6
7
8
9
10
11
12
14
13
3
4
4
15
16
17
18
19
20
21
23
25
27
26
40
28
29
30
31
32
33
34
35
36
39
37
32
38
32
37
9
8
22
24
17
41
42
23
23
24
24
43
27
44
18
45
46
9
18
47
986019
The above parts group applies to the following Mfg. Nos.:
2005
44
© Copyright Simplicity Manufacturing, Inc. All Rights Reserved.
1694036 - 38" Mower
1694042 - 38" Mower
TP 400-4205-01-BM-SMA

Related product manuals