EasyManua.ls Logo

Simpson SWT6541 - CONTROL PANEL

Simpson SWT6541
32 pages
Print Icon
To Next Page IconTo Next Page
To Next Page IconTo Next Page
To Previous Page IconTo Previous Page
To Previous Page IconTo Previous Page
Loading...
CONTROL PANEL3.
7
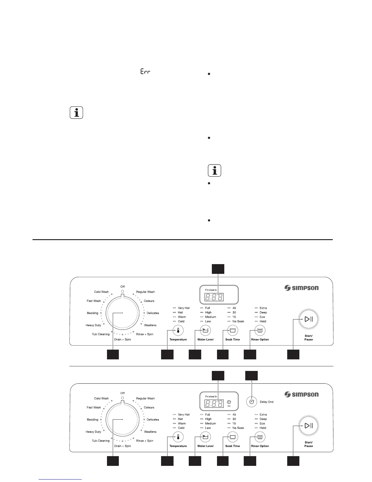
3.1 3.2 3.3 3.4 3.5 3.7
3.6
3.1 3.2 3.3 3.4 3.5 3.7
3.83.6
Model: SWT5541, SWT5541B
Model: SWT6541
After the machine has started, the entire
wash option button will be disabled and
the display will show “ ” and flashing
with three short beeps to indicate the
button is disabled (except Start/Pause
button).
All functions of the washing
machine will stop when the lid is
open.
This mode permits you to either enable
or disable the beeping (3 beeps every
20 seconds) at the end of the wash. As
an example, you might wish to disable
this beeping when you start a wash
when going to bed, so that when the
wash finished, it will not disturb you
through the night.
Enabling/Disabling End-of-Wash
Beeping Mode
All error beeping is not disabled by
this feature, such as a critical fault, or
lid open during fill/agitate/spin, or out
of balance during spinning.
Responding sound while pressing the
button is not disabled by this feature.
To change the “beeping” selection,
proceed as follows:
If you want to DISABLE the “beeping”
sound, when the washing machine in
Stand-By-Mode (after 7 seconds
passed from machine switching on),
press “Soak Time” and “Water Level”
buttons at the same time until you
hear 2 shorts “BEEP” sound.
To return to default configuration press
these 2 buttons at the same time until
you hear “BEEP” sound.
NOTE:

Related product manuals