EasyManua.ls Logo

Singer HD6620C - Introducción; Uso Previsto; Vista General de la Máquina

Singer HD6620C
120 pages
Print Icon
To Next Page IconTo Next Page
To Next Page IconTo Next Page
To Previous Page IconTo Previous Page
To Previous Page IconTo Previous Page
Loading...
INTRODUCCIÓN
Uso previsto
El uso y mantenimiento óptimos se describen en estas instrucciones. Este producto no está pensado para un uso industrial.
Se puede encontrar asistencia adicional, por regiones, en la web en www.singer.com.
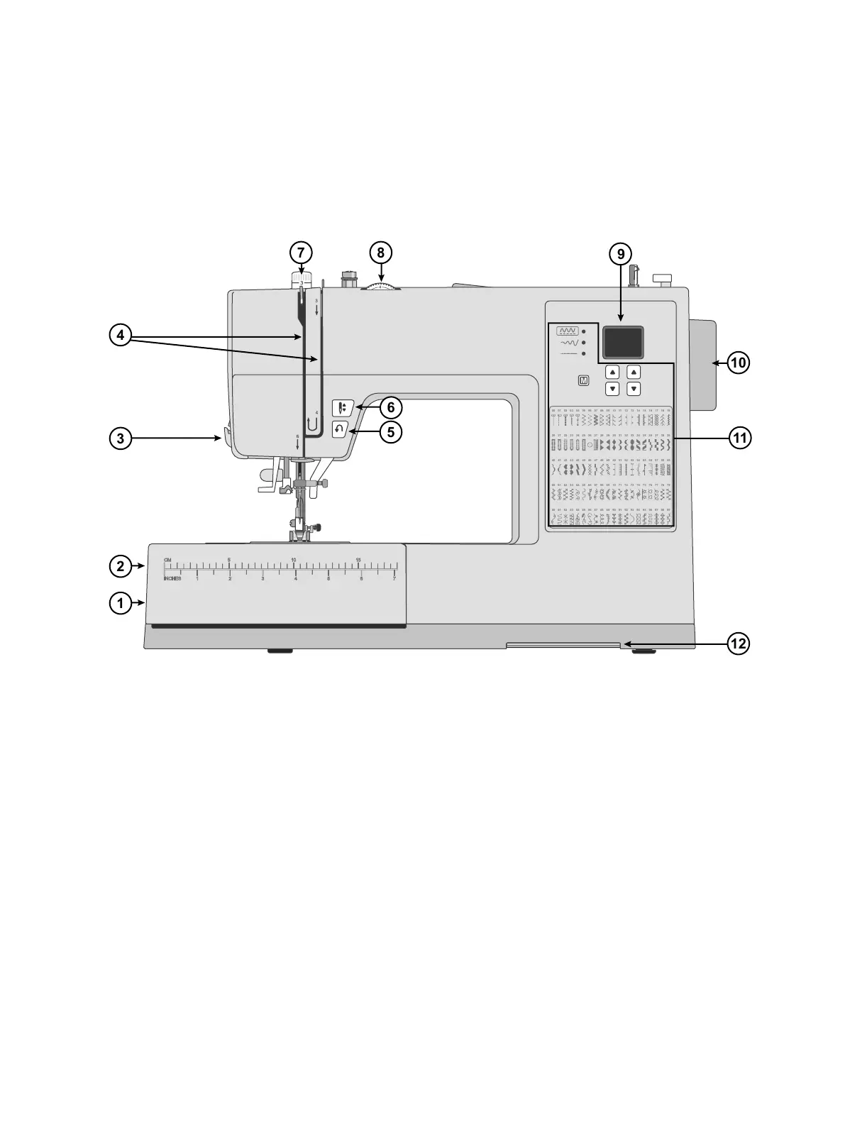
Vista general de la máquina
00 01 02 03 04 05 06 07 08 09 10 11 12 13 14 15 16 17 18 19
20 21 22 23 24 25 26 27 28 29 30 31 32 33 34 35 36 37 38 39
40 41 42 43 44 45 46 47 48 49 50 51 52 53 54 55 56 57 58 59
60 61 62 63 64 65 66 67 68 69 70 71 72 73 74 75 76 77 78 79
80 81 82 83 84 85 86 87 88 89 90 91 92 93 94 95 96 97 98 99
3
1
5
6
9
87
4
11
10
2
12
1. Palanca de los dientes de arrastre mover de lado a
lado para enganchar o desenganchar los dientes de arrastre.
Posicionado en la parte posterior del brazo libre.
2. Caja de accesorios / Brazo libre proporciona una
superficie plana al coser y permite el almacenamiento de
sus accesorios. Quite la caja de accesorios para usar el
brazo libre que facilita la costura, por ejemplo, los
dobladillos de los pantalones y las mangas.
3. Cortahilo para recortar los extremos de hilo al final de
la costura.
4. Ranuras de hilo trayectorias de hilo con discos de
tensión y tirahilos.
5. Botón de reversa Presione y mantenga presionado para
coser en reversa, por ejemplo, al asegurar el comienzo o el
final de una costura.
6. Botón para subir/bajar la aguja Presione para subir y/
o bajar la aguja.
7. Presión del prensatelas controla la presión que ejerce
el prensatelas sobre la tela.
8. Dial de la tensión del hilo fija la tensión correcta para
su puntada, hilo y tela.
9. Pantalla Se muestran las puntadas y los ajustes actuales.
10. Volante utilizado para controlar manualmente el
movimiento de la aguja y el tirahilos.
11. Panel de control de puntadas Elija el menú,
seleccione la puntada y ajuste los parámetros de las
puntadas con estos botones (ver página 16—página 17).
12. Recomendación de prensatelas —Deslice hacia adelante
para ver qué prensatelas se recomienda para la puntada
seleccionada.
Introducción 1
Espanõl

Table of Contents

Related product manuals