EasyManua.ls Logo

Singer HD6620C - Aiguilles; Enfile-Aiguille

Singer HD6620C
120 pages
Print Icon
To Next Page IconTo Next Page
To Next Page IconTo Next Page
To Previous Page IconTo Previous Page
To Previous Page IconTo Previous Page
Loading...
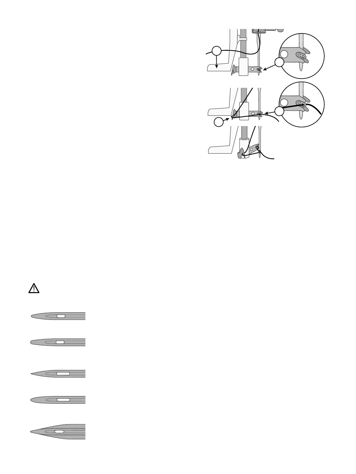
Enfile-aiguille
C
A
B
D
L’enfile-aiguille intégré vous permet d’enfiler l’aiguille
rapidement et facilement.
L'aiguille doit être dans sa position la plus haute pour pouvoir
utiliser l'enfile-aiguille intégré. Tournez le volant vers vous
jusqu'à ce que l'aiguille soit dans sa position la plus haute, ou
appuyez sur le bouton haut/bas de l'aiguille. Nous vous
recommandons aussi d'abaisser le pied-de-biche.
Utilisez la poignée (A) pour tirer l'enfile-aiguille jusqu'en
bas. Les brides métalliques couvrent l'aiguille. Un petit
crochet passe dans le chas de l'aiguille (B).
Placez le fil de l'arrière sur le guide-fil (C) et sous le petit
crochet (D).
Laissez l'enfile-aiguille basculer doucement vers l'arrière.
Le crochet tire le fil à travers le chas de l'aiguille et forme
une boucle derrière l'aiguille. Tirez la boucle du fil vers
l'extérieur derrière l'aiguille.
Levez le pied-de-biche et placez le fil en dessous.
Tirez environ 15 à 20 cm de fil au-delà du chas de l'aiguille.
Cela empêchera la machine de se désenfiler lorsque vous
commencerez à coudre.
Remarque : L’enfile-aiguille est conçu pour être utilisé avec
des aiguilles de taille 70-110. Vous ne pouvez pas utiliser
l'enfile-aiguille pour les aiguilles de taille 60 ou moins, ni avec
les aiguilles lancéolées ou doubles. Certains accessoires en
option exigent un enfilage manuel de l'aiguille. Lorsque vous
enfilez l’aiguille manuellement, assurez-vous que l’aiguille est
enfilée de l’avant vers l’arrière.
Aiguilles
L'aiguille de la machine à coudre joue un rôle important dans une couture réussie. Utilisez uniquement des aiguilles de qualité.
Nous recommandons les aiguilles du système 130/705H. Le jeu d'aiguilles inclus avec votre machine contient des aiguilles des
tailles les plus fréquemment utilisées.
Assurez-vous d'adapter l'aiguille au fil que vous utilisez. Les fils épais nécessitent une aiguille comportant un plus grand
chas. Si le chas de l'aiguille est trop petit pour le fil, l'enfile-aiguille peut ne pas fonctionner correctement.
Aiguille universelle
Les aiguilles universelles ont une pointe légèrement arrondie et existent dans de nombreuses tailles.
Pour la couture générale sur un grand nombre de types et épaisseurs de tissus.
Aiguille pour tissu extensible
Les aiguilles pour tissu extensible ont une pointe ronde et une tige spéciale afin d'éviter de sauter des
points quand le tissu est souple. Pour le tricot, les maillots de bain, le polaire, les daims et les cuirs
synthétiques.
Aiguille pour denim
Les aiguilles à denim ont une pointe effilée pour bien pénétrer dans les tissus tissés serrés sans tordre
l'aiguille. Pour la grosse toile, le denim, les microfibres.
Aiguille à broder
Les aiguilles à broder comportent une tige spéciale, une pointe légèrement arrondie et un chas un peu
plus grand pour éviter d'endommager le fil et le tissu. À utiliser avec des fils métalliques et autres fils
spéciaux pour la broderie et la couture décorative.
Aiguille lancéolée
Les aiguilles lancéolées comportent de grandes extensions de chaque côté de l’aiguille pour percer des
trous dans le tissu lors de la couture d'entredeux ou d'autres points d'ourlet sur des tissus en fibre
naturelle.
Préparations 13
Francais

Table of Contents

Related product manuals