EasyManua.ls Logo

Skyteam ST50-3TR - Engine Oil Level Check; Tire Maintenance and Safety; Tire Inflation and Condition

Default Icon
39 pages
Print Icon
To Next Page IconTo Next Page
To Next Page IconTo Next Page
To Previous Page IconTo Previous Page
To Previous Page IconTo Previous Page
Loading...
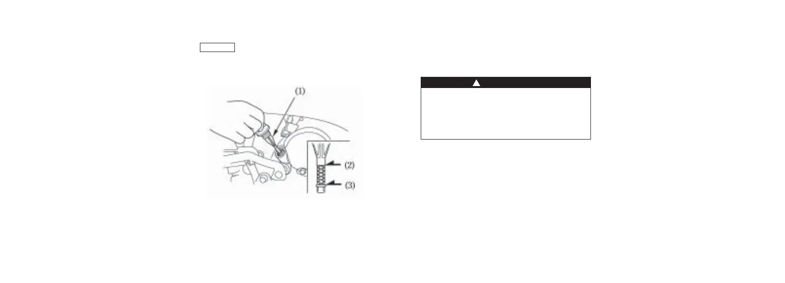
ENGINE OIL
Engine Oil Level Check
Check the engine oil level each day before
operating the motorcycle.
The oil filler cap/dipstick (1) is at the rear of the
right crankcase cover and contains a dipstick for
measuring the oil level.Oil level must be
maintained between the upper(2)and lower
(3)level marks on the filler cap/dipstick(1).
1. Hold the motorcycle on upright firm level
ground.
2. Start the engine and let it idle for a few
minutes.
3. Stop the engine. After a few minutes, remove
the oil filler cap/dipstick (1) and wipe it clean,
then reinsert the dipstick without screwing it in.
Remove the dipstick. The oil level should be
between the upper (2) and lower (3) level marks
on the dipstick.
4. If required, add the specified oil up to the upper
level mark. Do not overfill.
5. Reinstall the oil filler cap/dipstick. Check for
oil leaks.
Running the engine with insufficient oil can
cause serious engine damage.
(1) Filler cap/dipstick (2) Upper level mark
(3) Lower level mark
NOTICE
17
TIRES
To safely operate your motorcycle, the tires must
be the proper type and size, in good condition
with adequate tread, and correctly inflated.
Air Pressure
Properly inflated tires provide the best
combination of handling, tread life, and riding
comfort. Generally, underinflated tires wear
unevenly, adversely affect handling, and are
more likely to fail from being overheated/
Underinflated tires can also cause wheel damage
in rocky terrain. 0verinflated tires make your
motorcycle ride more harshly, are more prone to
damage from surface hazards, and wear
unevenly.
Make sure the valve stem caps are secure. If
necessary, install a new cap.
Using tires that are excessively worn or
improperly inflated can cause a crash in
which you can be seriously hurt or killed.
Follow all instructions in this owner's manual
regarding tire inflation and maintenance.
WARINING
>
18

Related product manuals