EasyManua.ls Logo

Slant/Fin BOILERS - WIRING FOR PACKAGED STEAM BOILER

Slant/Fin BOILERS
20 pages
Print Icon
To Next Page IconTo Next Page
To Next Page IconTo Next Page
To Previous Page IconTo Previous Page
To Previous Page IconTo Previous Page
Loading...
L
IBERTY II
13
4
2
1
3
1
2
2
H
EX NUT
LOOSE WHITE
WIRE LEAD
TO PROBE
BLACK
WHITE
R
ED
G
REEN
L 4006A
LOW LIMIT
FOR TANKLESS
OPTIONAL
T
T
F
F
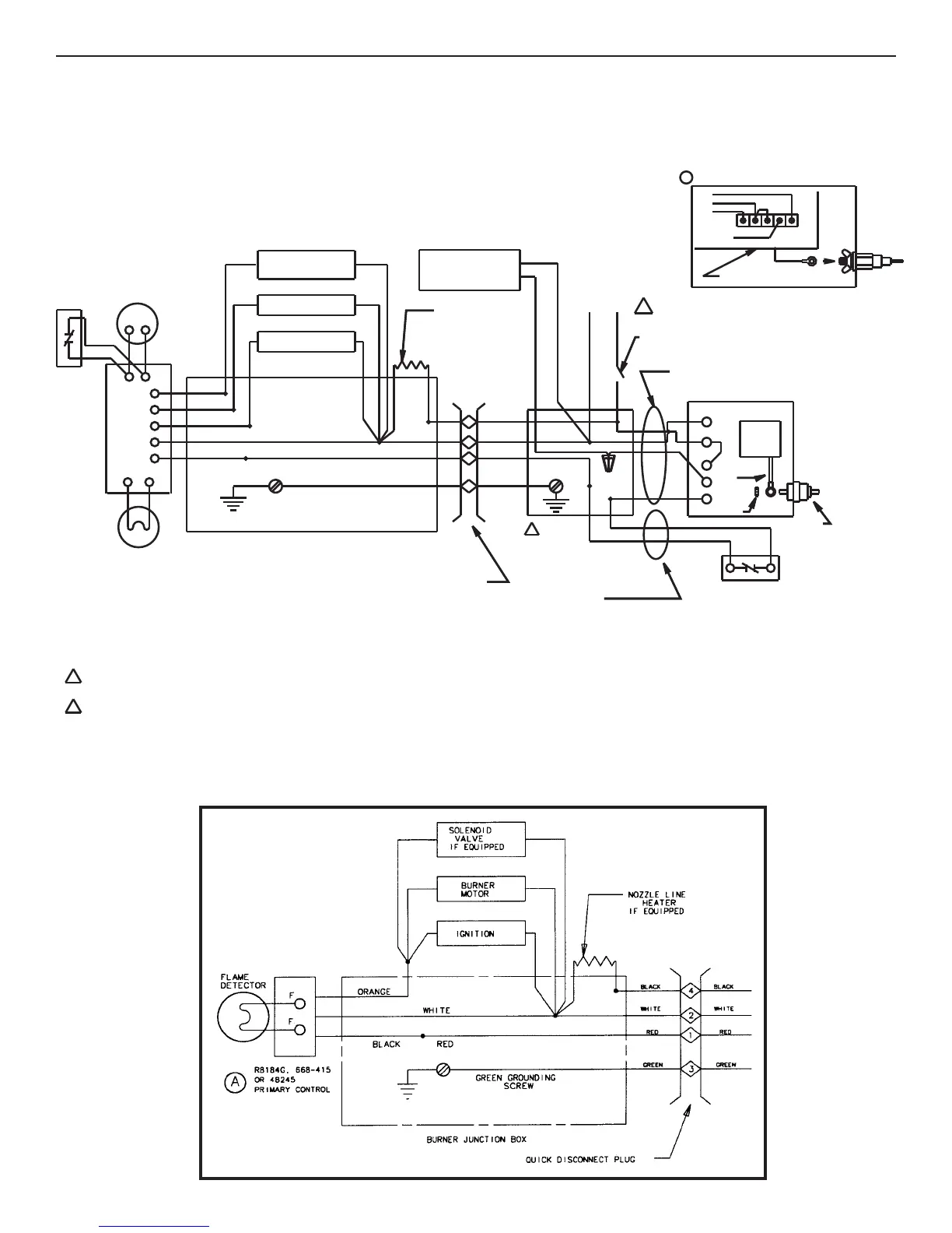
FLAME
DETECTOR
WHITE
BLACK
RED
GREEN GROUNDING
SCREW
L
OW WATER ALARM
O
R WATER FEEDER
(
OPTIONAL)
NOZZLE LINE
HEATER
IF EQUIPPED
1
P
RESSURE
C
UT OUT
BURNER JUNCTION BOX
P
ROBE
BLUE
Q
UICK DISCONNECT PLUG
2 CONDUCTOR BX CABLE
STEAM HARNESS #2 FIELD
CONNECTED ON PRESSURE
CUT OUT.
L2
L1
120 VAC./60Hz
*
OVERLOAD PROTECTION AND DISCONNECT SWITCH MUST BE
P
ROVIDED AS REQUIRED BY LOCAL CODES.
RED
R
ED
R
ED
PRINTED
CIRCUIT
BOARD
4
CONDUCTOR BX CABLE STEAM HARNESS #1
(
BLUE WIRE AVAILABLE FOR OPTIONAL ALARM OR WATER
F
EEDER IF USED) PS-801-120 L.W.C.O.
O
THER
S
AFETY
C
ONTROL
C
W
B
N
H
B
LACK
W
HITE
High-Pressure Limit
Recomemmeded setting - 0.5 PSI
Differential - 5 PSI
Low Limit (Tankless Model Only) Recommemded setting - 160F.
24 VOLT
THERMOSTAT
ORANGE
V
IOLET
B
LUE
P
RIMARY
CONTROL
R7184B
P
RIMARY
CONTROL
R7184B
24 VOLT
THERMOSTAT
High-Pressure Limit
Recomemmeded setting - 0.5 PSI
Differential - 5 PSI
Low Limit (Tankless Model Only) Recommemded setting - 160F.
H
N
B
W
C
NEUTRAL
HOT
O
THER
S
AFETY
C
ONTROL
4
CONDUCTOR BX CABLE STEAM HARNESS #1
(
BLUE WIRE AVAILABLE FOR OPTIONAL ALARM OR WATER
F
EEDER IF USED) PS-801-120 L.W.C.O.
PRINTED
CIRCUIT
BOARD
OVERLOAD PROTECTION AND DISCONNECT SWITCH MUST BE
P
ROVIDED AS REQUIRED BY LOCAL CODES.
*
*
1
20 VAC./60Hz
L1
L2
2 CONDUCTOR BX CABLE
STEAM HARNESS #2 FIELD
CONNECTED ON PRESSURE
CUT OUT.
Q
UICK DISCONNECT PLUG
P
ROBE
BURNER JUNCTION BOX
P
RESSURE
C
UT OUT
1
NOZZLE LINE
HEATER
IF EQUIPPED
L
OW WATER ALARM
O
R WATER FEEDER
(
OPTIONAL)
GREEN GROUNDING
SCREW
FLAME
DETECTOR
F
F
T
T
L 4006A
LOW LIMIT
FOR TANKLESS
OPTIONAL
LOOSE WHITE
WIRE LEAD
TO PROBE
H
EX NUT
2
2
1
3
1
2
4
4
2
BLACK
WHITE
RED
G
L 4006A
LOW LIMIT
FOR TANKLESS
OPTIONAL
T
T
WHITE
B
LOW WATER ALARM
OR WATER FEEDER
(OPTIONAL)
NOZZLE LINE
HEATER
IF EQUIPPED
1
BLUE
Q
L2
L1
120 VAC./60Hz
*
PRINTED
CIRCUIT
BOARD
4 CONDUCTOR BX CABLE STEAM HARNESS #1
(BLUE WIRE AVAILABLE FOR OPTIONAL ALARM OR WATER
FEEDER IF USED) PS-801-120 L.W.C.O.
OTHER
SAFETY
CONTROL
HOT
NEUTRAL
N
H
BLACK
WHITE
High-Pressure Limit
Recomemmeded setting - 0.5 PSI
Differential - 5 PSI
Low Limit (Tankless Model Only) Recommemded setting - 160F.
24 VOLT
THERMOSTAT
ORANGE
VIOLET
BLUE
BLUE
BLACK
BLACK
PRIMARY
CONTROL
R7184B
PRIMARY
CONTROL
R7184B
BLACK
BLACK
BLUE
BLUE
VIOLET
ORANGE
24 VOLT
THERMOSTAT
High-Pressure Limit
Recomemmeded setting - 0.5 PSI
Differential - 5 PSI
Low Limit (Tankless Model Only) Recommemded setting - 160F.
WHITE
BLACK
H
N
NEUTRAL
HOT
OTHER
SAFETY
CONTROL
4 CONDUCTOR BX CABLE STEAM HARNESS #1
(BLUE WIRE AVAILABLE FOR OPTIONAL ALARM OR WATER
FEEDER IF USED) PS-801-120 L.W.C.O.
PRINTED
CIRCUIT
BOARD
R
*
120 VAC./60Hz
L1
L2
2
BLUE
P
1
NOZZLE LINE
HEATER
IF EQUIPPED
LOW WATER ALARM
OR WATER FEEDER
(OPTIONAL)
G
WHITE
F
T
T
L 4006A
LOW LIMIT
FOR TANKLESS
OPTIONAL
G
RED
WHITE
BLACK
L
2
4
PRIMARY R7184B WAS R8184G SEE EN 6049
9
C
MM CHANGED NUMBERS TO LETTERS AND REARRANGED
CONNECTIONS SE EN 5970
9
B
ADDED HYDROLEVEL CYCLE GARD CG 450 L.W.C.O.
SEE EN 5847
A
A
B
A
BLACK
BLACK
BLUE
I
GNITION
BURNER
MOTOR
S
OLENOID
VALVE
IF EQUIPPED
ELECTRICAL POWER SUPPLY. PROVIDE DISCONNECT
MEANS AND OVERLOAD PROTECTION AS REQUIRED BY CODES.
GROUNDING CONDUCTOR: GREEN GROUND WIRES ARE FACTORY CONNECTED TO THE
GREEN GROUND SCREW IN THIS BOX. FIELD WIRE A GROUNDED CONDUCTOR TO THIS
SCREW TOGETHER WITH THE GREENFACTORY CONNECTED GREEN WIRES.
GROUNDING CONDUCTOR: GREEN GROUND WIRES ARE FACTORY CONNECTED TO THE
GREEN GROUND SCREW IN THIS BOX. FIELD WIRE A GROUNDED CONDUCTOR TO THIS
SCREW TOGETHER WITH THE GREENFACTORY CONNECTED GREEN WIRES.
ELECTRICAL POWER SUPPLY. PROVIDE DISCONNECT
MEANS AND OVERLOAD PROTECTION AS REQUIRED BY CODES.
S
OLENOID
VALVE
IF EQUIPPED
BURNER
MOTOR
I
GNITION
IGNITION
BURNER
MOTOR
SOLENOID
VALVE
IF EQUIPPED
E
SOLENOID
VALVE
IF EQUIPPED
BURNER
MOTOR
IGNITION
C
D
E
REVISION
NO.
DZONE
D
8
7
6
543
2
BLUE
WHITE
P
ROBE
CONNECT LOOSE WHITE LEAD TO PROBE TERMINAL & FASTEN WITH
L
OCK WASHER AND WING NUT SEE HYDROLEVEL INSTRUCTIONS
21
P1 P2
A
B
LACK
WHITE
R
ED
P.C. BOARD
HYDROLEVEL CYCLE GARD CG 450 L.W.C.O.
HYDROLEVEL CYCLE GARD CG 450 L.W.C.O.
P.C. BOARD
RED
WHITE
BLACK
A
P2P1
12
CONNECT LOOSE WHITE LEAD TO PROBE TERMINAL & FASTEN WITH
LOCK WASHER AND WING NUT SEE HYDROLEVEL INSTRUCTIONS
PROBE
WHITE
BLUE
SeeDetail "A" for primary otherthan R7184
WIRING FOR PACKAGED STEAM BOILER
For alternate option PS-801-120 L.W.C.O.
or Hydrolevel Cycle Gard 450 L.W.C.O.
Detail “A”

Related product manuals