EasyManua.ls Logo

Snapper EZT20500BV - Engine & PTO Group - 18 HP Kohler

Snapper EZT20500BV
68 pages
Print Icon
To Next Page IconTo Next Page
To Next Page IconTo Next Page
To Previous Page IconTo Previous Page
To Previous Page IconTo Previous Page
Loading...
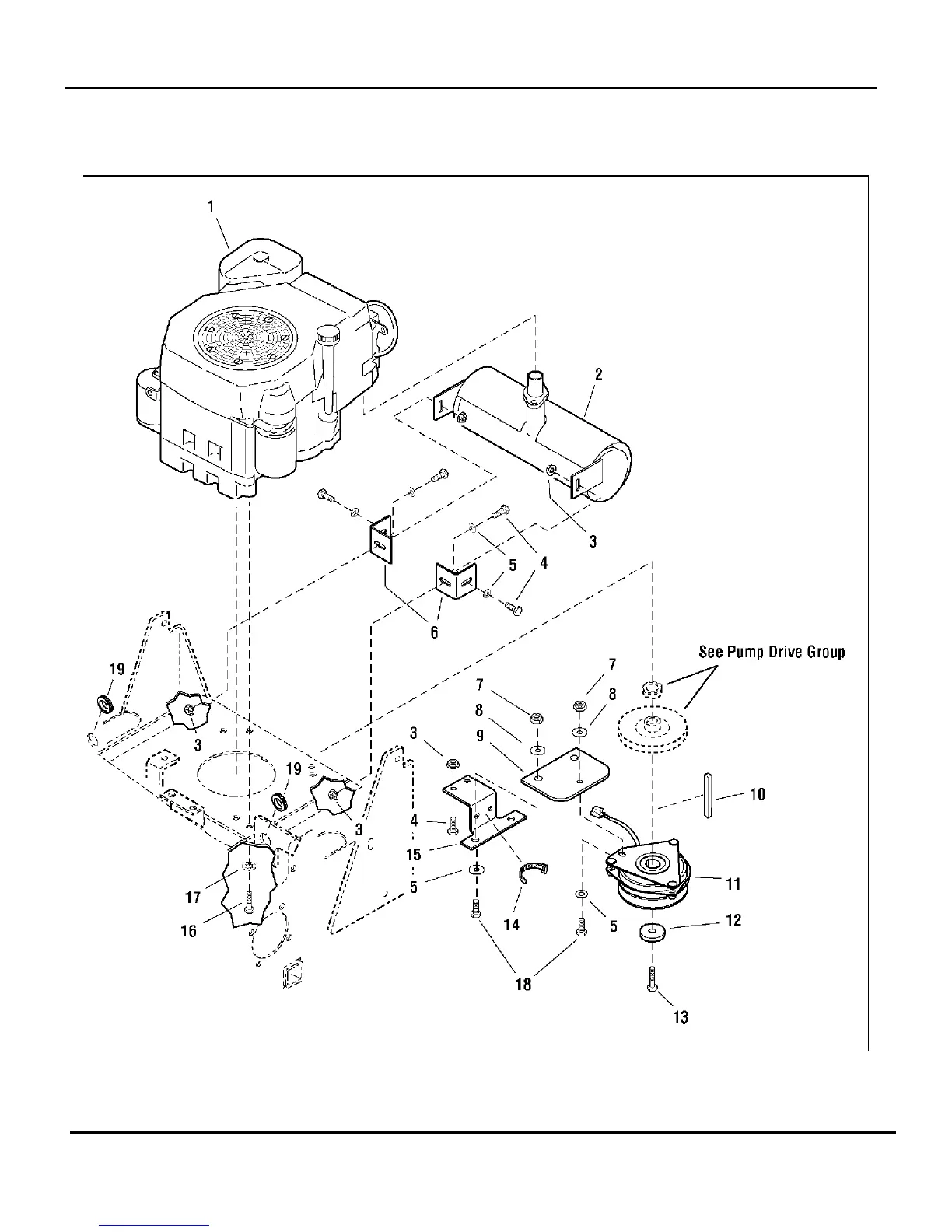
Engine & PTO Group - 18HP Kohler
TP 400-5000-4-HZ-N
Manual No. 7006932 FastCut HYDRO DRIVE ZTR
SERIES 0
28

Related product manuals