EasyManua.ls Logo

Sony Alpha 5000 - Page 148

Sony Alpha 5000
467 pages
Print Icon
To Next Page IconTo Next Page
To Next Page IconTo Next Page
To Previous Page IconTo Previous Page
To Previous Page IconTo Previous Page
Loading...
IT
14
Se l’indicatore luminoso di carica sulla fotocamera lampeggia quando
l’alimentatore CA è collegato alla presa a muro, ciò indica che la carica si è
interrotta temporaneamente perché la temperatura è al di fuori dei limiti
consigliati. Quando la temperatura torna entro i limiti appropriati, la carica
riprende. Si consiglia di caricare il pacco batteria ad una temperatura ambiente tra
10°C e 30°C.
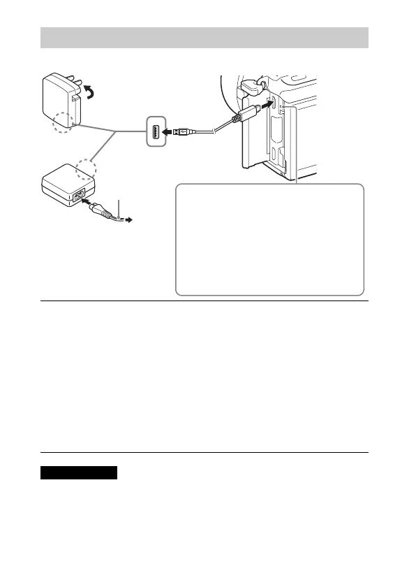
Caricamento del pacco batteria
1
Collegare la fotocamera all’alimentatore CA (in
dotazione), utilizzando il cavo USB micro (in dotazione).
2
Collegare l’alimentatore CA alla presa a muro.
L’indicatore luminoso di carica si illumina in arancione e la carica ha
inizio.
Spegnere la fotocamera durante la carica della batteria.
È possibile caricare il pacco batteria anche quando è parzialmente
carico.
Quando la spia della carica lampeggia e la carica non è finita, rimuovere
e reinserire il pacco batteria.
Note
Cavo di
alimentazione
Per i clienti negli Stati Uniti e in Canada
Per i clienti in nazioni/
regioni diverse dagli Stati
Uniti e dal Canada
Indicatore luminoso di carica
Acceso: in carica
Spento: Carica terminata
Lampeggiante:
Errore nella carica o la carica ha fatto
temporaneamente una pausa perché
la fotocamera non è entro i limiti
appropriati della temperatura.

Table of Contents

Related product manuals