EasyManua.ls Logo

Sony Alpha 5000 - Uppladdning Av Batteripaketet

Sony Alpha 5000
467 pages
Print Icon
To Next Page IconTo Next Page
To Next Page IconTo Next Page
To Previous Page IconTo Previous Page
To Previous Page IconTo Previous Page
Loading...
SE
12
Om laddningslampan på kameran börjar blinka medan nätadaptern är ansluten till
vägguttaget, betyder det att uppladdningen tillfälligt har avbrutits på grund av att
temperaturen är utanför det rekommenderade området. När temperaturen kommit
tillbaka inom det lämpliga området återupptas uppladdningen. Vi rekommenderar
att batteripaketet laddas upp vid en omgivningstemperatur på 10 °C till 30 °C.
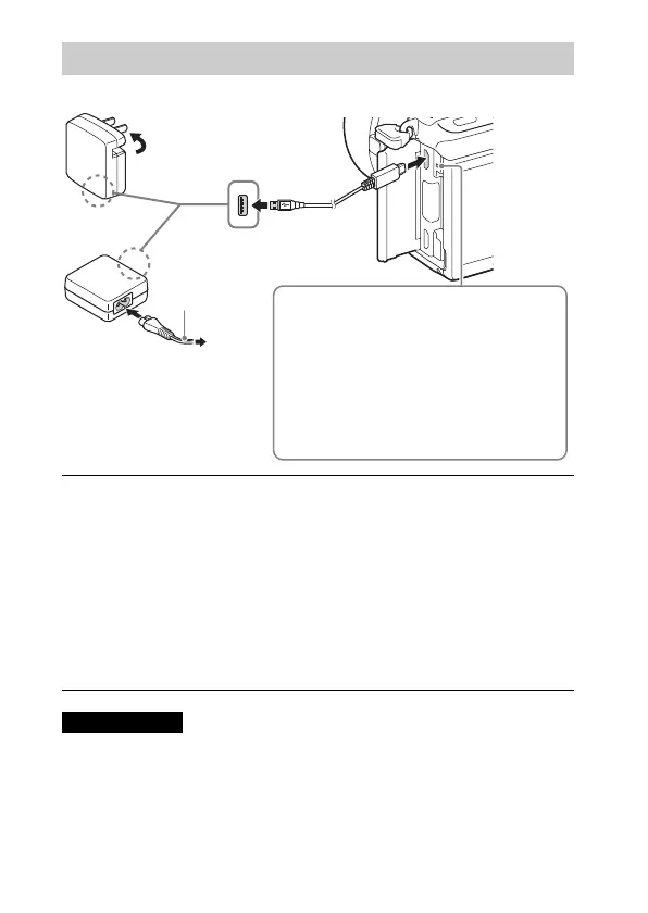
Uppladdning av batteripaketet
1
Anslut kameran till nätadaptern (medföljer) med hjälp av
mikro-USB-kabeln (medföljer).
2
Anslut nätadaptern till ett vägguttag.
Laddningslampan lyser orange och uppladdningen startar.
Stäng av kameran medan batteripaketet laddas upp.
Det går att ladda upp batteripaketet även medan det fortfarande är delvis
laddat.
Om laddningslampan börjar blinka innan uppladdningen är klar, så ta ut
batteripaketet och sätt i det igen.
Observera
Nätkabel
För kunder i USA och Canada
För kunder i andra länder
och områden än USA och
Canada
Laddningslampa
Tänd: Uppladdning
Av: Uppladdningen klar
Blinkar:
Ett uppladdningsfel har uppstått, eller
uppladdningen har avbrutits tillfälligt
eftersom kamerans temperatur är
utanför rätt område.

Table of Contents

Related product manuals