EasyManua.ls Logo

Sony BDV-E985W - Page 9

Sony BDV-E985W
80 pages
Print Icon
To Next Page IconTo Next Page
To Next Page IconTo Next Page
To Previous Page IconTo Previous Page
To Previous Page IconTo Previous Page
Loading...
9
GB
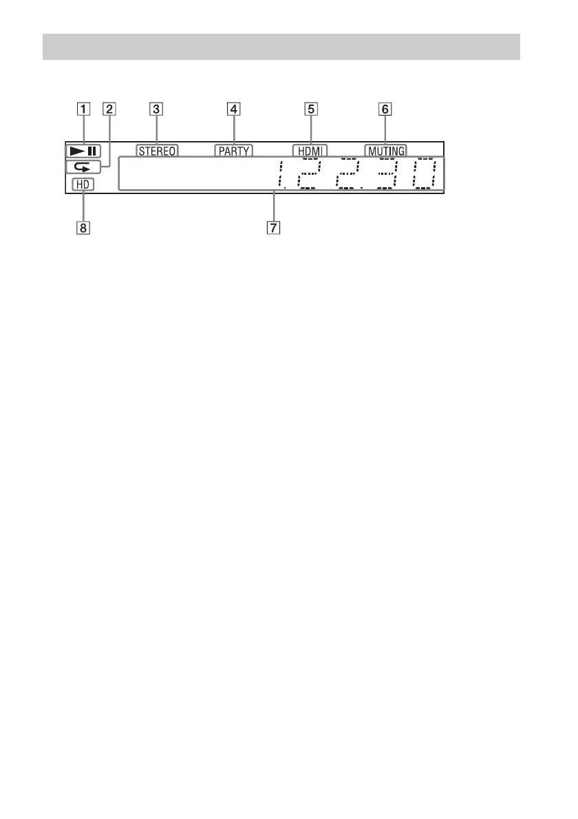
About the indications in the front panel display
A Displays the system’s playing status.
B Lights up when repeat play is
activated.
C Lights up when stereo sound is
received. (Radio only)
D Lights up when the system is playing
via the PARTY STREAMING function.
E Lights up when the HDMI (OUT) jack is
correctly connected to an HDCP (High-
bandwidth Digital Content Protection)-
compliant device with HDMI or DVI
(Digital Visual Interface) input.
F Lights up when muting is on.
G Displays the system’s status, such as
radio frequency, etc.
H Lights up when outputting 720p/1080i/
1080p video signals from the HDMI
(OUT) jack or 720p/1080i video signals
from the COMPONENT VIDEO OUT
jacks*.
* COMPONENT VIDEO OUT jacks are
equipped on non-European/non-Saudi Arabian
models.
Front panel display

Table of Contents

Other manuals for Sony BDV-E985W