EasyManua.ls Logo

Sony BDV-L600 - Front Panel Display

Sony BDV-L600
84 pages
Print Icon
To Next Page IconTo Next Page
To Next Page IconTo Next Page
To Previous Page IconTo Previous Page
To Previous Page IconTo Previous Page
Loading...
12
GB
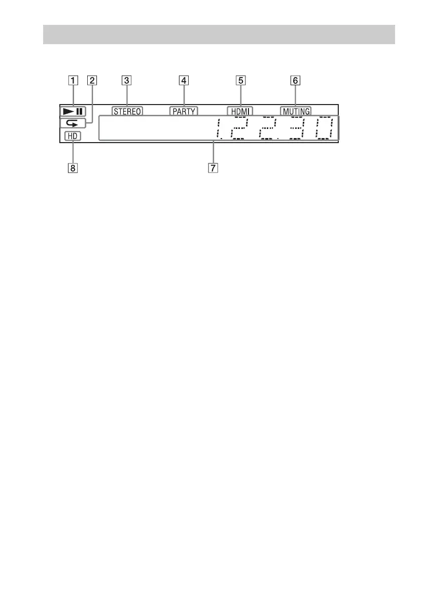
About the indications in the front panel display
A Displays the system’s playing status.
B Lights up when repeat play is
activated.
C Lights up when stereo sound is
received. (Radio only)
D Lights up when the system is playing
via the PARTY STREAMING function.
E Lights up when the HDMI OUT jack is
correctly connected to an HDCP (High-
bandwidth Digital Content Protection)-
compliant device with HDMI or DVI
(Digital Visual Interface) input.
F Lights up when muting is on.
G Displays the system’s status, such as
radio frequency, etc.
H Lights up when outputting 720p/1080i/
1080p video signals from the HDMI
OUT jack.
Front panel display

Table of Contents

Other manuals for Sony BDV-L600

Related product manuals