EasyManua.ls Logo

Sony CDP-590 - Page 31

Sony CDP-590
36 pages
Print Icon
To Next Page IconTo Next Page
To Next Page IconTo Next Page
To Previous Page IconTo Previous Page
To Previous Page IconTo Previous Page
Loading...
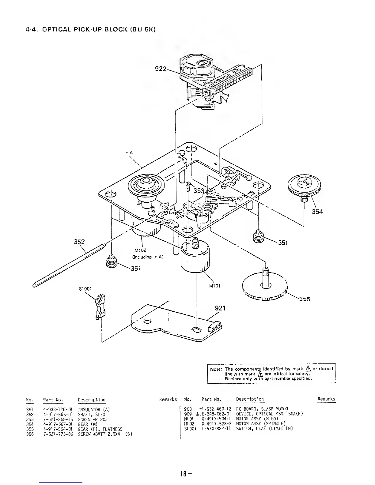
4-4.
OPTICAL PICK-UP
BLOCK
(BU-5K)
Note: The
components identified by
mark
^
or
dotted
line with
mark A are critical
for safety.
Replace
only with part
number specified.
No. Part No. Description
Remarks
351
4-933-126-01
INSULATOR (A)
352
4-917-565-01
SHAFT,
SLEO
353
7-621-255-15
SCREW +P 2X3
354
4-917-567-01
GEAR (M)
355
4-917-564-01
GEAR (P),
FLATNESS
356
7-621-773-86
SCREW +BVTT 2.6X4 (S)
No.
Part
No.
Description Remarks
908
*1-632-460-12
PC BOARD, SL/SP
MOTOR
909 A.
8-848-062-01
DEVICE,
OPTICAL KSS-150A(H)
Ml 01
X-491
7-504-1
MOTOR
ASSY (SLED)
Ml
02 X-491
7-523-3
MOTOR ASSY
(SPINDLE)
SlOOl
1-570-822-11
SWITCH, LEAF (LIMIT IN)
-
18
-

Related product manuals