EasyManua.ls Logo

Sony CDP-790 - 4-3. OPTICAL PICK-UP BLOCK (BU-5 BD1)

Sony CDP-790
15 pages
Print Icon
To Next Page IconTo Next Page
To Next Page IconTo Next Page
To Previous Page IconTo Previous Page
To Previous Page IconTo Previous Page
Loading...
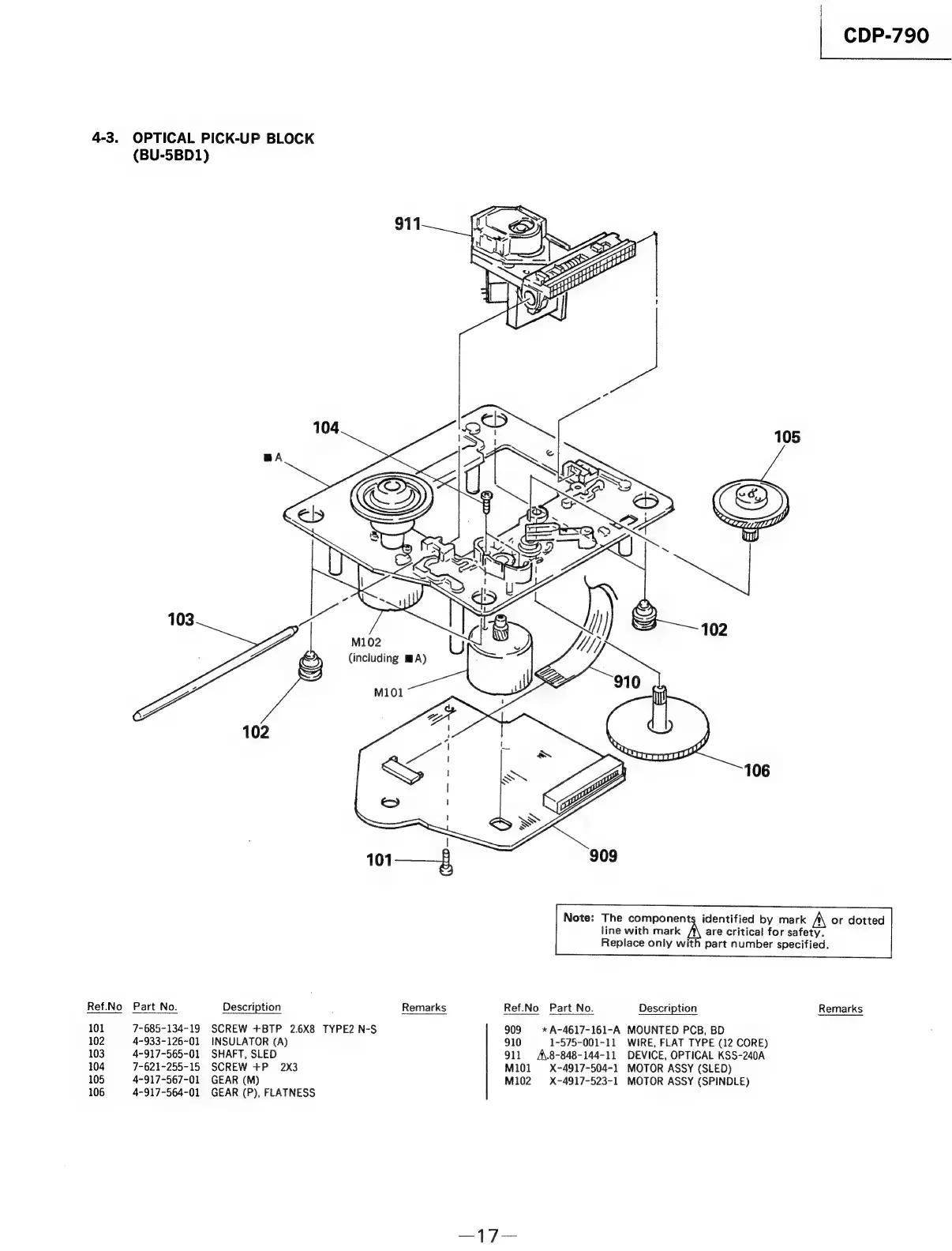
4-3.
OPTICAL
PICK-UP
BLOCK
(BU-5BD1)
103
Ref.No
Part
No.
101
102
103
104
105
106
7-685-134-19
4-933-126-01
4-917-565-01
7-621-255-15
4-917-567-01
4-917-564-01
BA
M102
(including
MA)
102
Description
Remarks
SCREW
+BTP
2.6X8
TYPE2
N-S
INSULATOR
(A)
SHAFT,
SLED
SCREW
+P
2X3
GEAR
(M)
GEAR
(P),
FLATNESS
CDP-790
106
Note:
The
components
identified
by
mark
A
or
dotted
line
with
mark
A
are
critical
for
safety.
Replace
only
with
part
number
specified.
Ref.No
Part
No.
Description
Remarks
909
*A-4617-161-A
MOUNTED
PCB,
BD
910
1-575-001-11
WIRE,
FLAT
TYPE
(12
CORE)
911
A\.8-848-144-11
DEVICE,
OPTICAL
KSS-240A
M101
X-4917-504-1
MOTOR
ASSY
(SLED)
Mi02
X-4917-523-1
MOTOR
ASSY
(SPINDLE)

Related product manuals