EasyManua.ls Logo

Sony CDP-997 - Optical Pick-Up Assembly Exploded View

Sony CDP-997
37 pages
Print Icon
To Next Page IconTo Next Page
To Next Page IconTo Next Page
To Previous Page IconTo Previous Page
To Previous Page IconTo Previous Page
Loading...
CDP-997
|
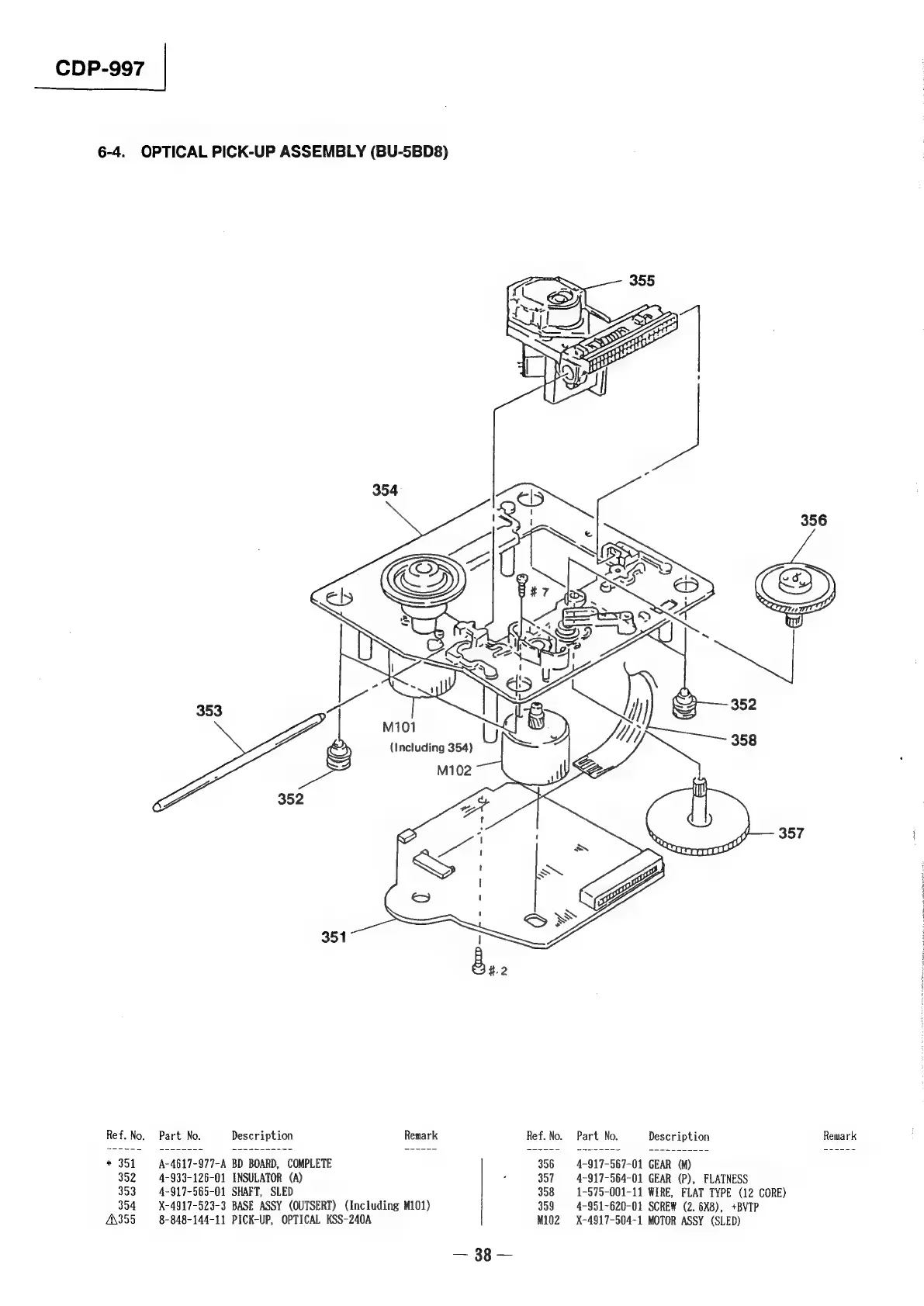
6-4.
OPTICAL
PICK-UP
ASSEMBLY
(BU-5BD8)
353
Remark
Part
No.
Description
A-4617-977-A
BD
BOARD,
COMPLETE
4-933-126-01
INSULATOR
(A)
4-917-565-01
SHAFT,
SLED
X-4917-523-3
BASE
ASSY
(QUTSERT)
(Including
M101)
8-848-144-11
PICK-UP,
OPTICAL
KSS-240A
Remark
Description
4-917-567-01
GEAR
(M)
4-917-564-01
GEAR
(P),
FLATNESS
1-575-001-11
WIRE,
FLAT
TYPE
(12
CORE)
4-951-620-01
SCREW
(2.
6X8),
+BVTP
X-4917-504-1
MOTOR
ASSY
(SLED)

Other manuals for Sony CDP-997

Related product manuals