EasyManua.ls Logo

Sony CDP-CE105 - Program Play

Sony CDP-CE105
14 pages
Print Icon
To Next Page IconTo Next Page
To Next Page IconTo Next Page
To Previous Page IconTo Previous Page
To Previous Page IconTo Previous Page
Loading...
Playing CDs
10
You can start Shuffle Play while playing
Press SHUFFLE, and Shuffle Play starts from the current
track.
You can specify discs during Shuffle Play (Select
Shuffle Play)
You can specify discs during ALL DISCS Shuffle Play
mode, and the tracks on the specified discs are played in
random order.
Circles appear only arround the specified disc numbers
in the display. To cancel the selected discs, press
DISC 1 – 5 again. The circles disappear.
To return to ALL DISCS Shuffle Play, press SHUFFLE
twice.
Shuffle Play on one disc
You can play all tracks on a specific disc in random
order.
1 Press SHUFFLE repeatedly until “1␣ DISC” appears
in the display.
2 Press DISC 1 – 5 to start 1␣ DISC Shuffle Play on
the selected disc.
The
indication appears while the player is
“shuffling” the tracks.
To cancel Shuffle Play
Press CONTINUE.
You can start Shuffle Play while playing
Press SHUFFLE, and Shuffle Play starts from the current
track.
Creating Your Own Program
(Program Play)
You can arrange the order of the tracks on the discs
and create your own program. The program can
contain up to 32 steps.
PROGRAM DISC 1 – 5
p·P
1 Press PROGRAM.
“PROGRAM” appears in the display.
If a program is already stored, the last step of the
program appears in the display. When you want to
erase the whole program, hold down p until “ALL
CLr” appears for about 2 seconds in the
display(see page 11).
2 Press DISC 1 – 5 to select the disc.
“AL” in the display stands for “all” tracks.
When you want to program the whole disc as one
step, skip Step 3 and 4 and go to Step 5.
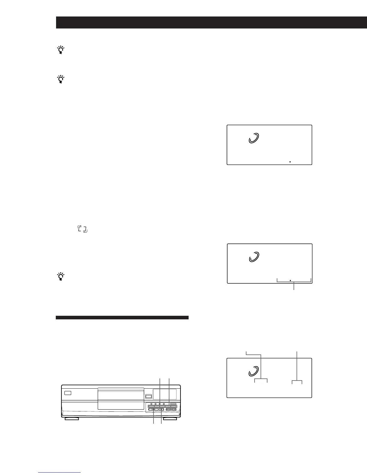
3 Press or ≠0 to choose a track.
The chosen track number and the total playing
time flashes in the display.
Total playing time
4 Press PROGRAM.
“PROGRAM”, track number and play order
indications appear for a about 3 seconds in the
display and then goes back to the Step 3 display.
1 2 3 4 5
1AL 42 11
PROGRAM
DISC
TRACK
MIN SEC
1 2 3 4 5
1 5
13 18
PROGRAM
DISC
TRACK
MIN SEC
1 2 3 4 5
1 5
3
PROGRAM
DISC
TRACK
STEP
Last programmed track
Playing order

Other manuals for Sony CDP-CE105

Related product manuals