EasyManua.ls Logo

Sony CDX-GT707UI - Búsqueda de una Pista; Búsqueda de una Pista por Nombre - Quick-Browzer; Búsqueda por Omisión de Elementos - Modo de Omisión; Búsqueda por Orden Alfabético - Búsqueda Alfabética

Sony CDX-GT707UI
68 pages
Print Icon
To Next Page IconTo Next Page
To Next Page IconTo Next Page
To Previous Page IconTo Previous Page
To Previous Page IconTo Previous Page
Loading...
20
Búsqueda de una pista
Búsqueda de una pista por
nombre — Quick-BrowZer™
Puede buscar una pista fácilmente en un CD o
dispositivo USB por categoría.
1 Presione (BROWSE).
La unidad accede al modo Quick-BrowZer y
aparece la lista de categorías de búsqueda.
2 Gire el selector de control para
seleccionar la categoría de búsqueda
deseada y, a continuación, presiónelo
para confirmarla.
3 Repita el paso 2 hasta que se
seleccione la pista deseada.
Se inicia la reproducción.
Para volver a la pantalla anterior
Presione (BACK).
Para salir del modo Quick-BrowZer
Presione (BROWSE).
Nota
Al acceder al modo Quick-BrowZer, se cancela el
ajuste de reproducción repetida/aleatoria.
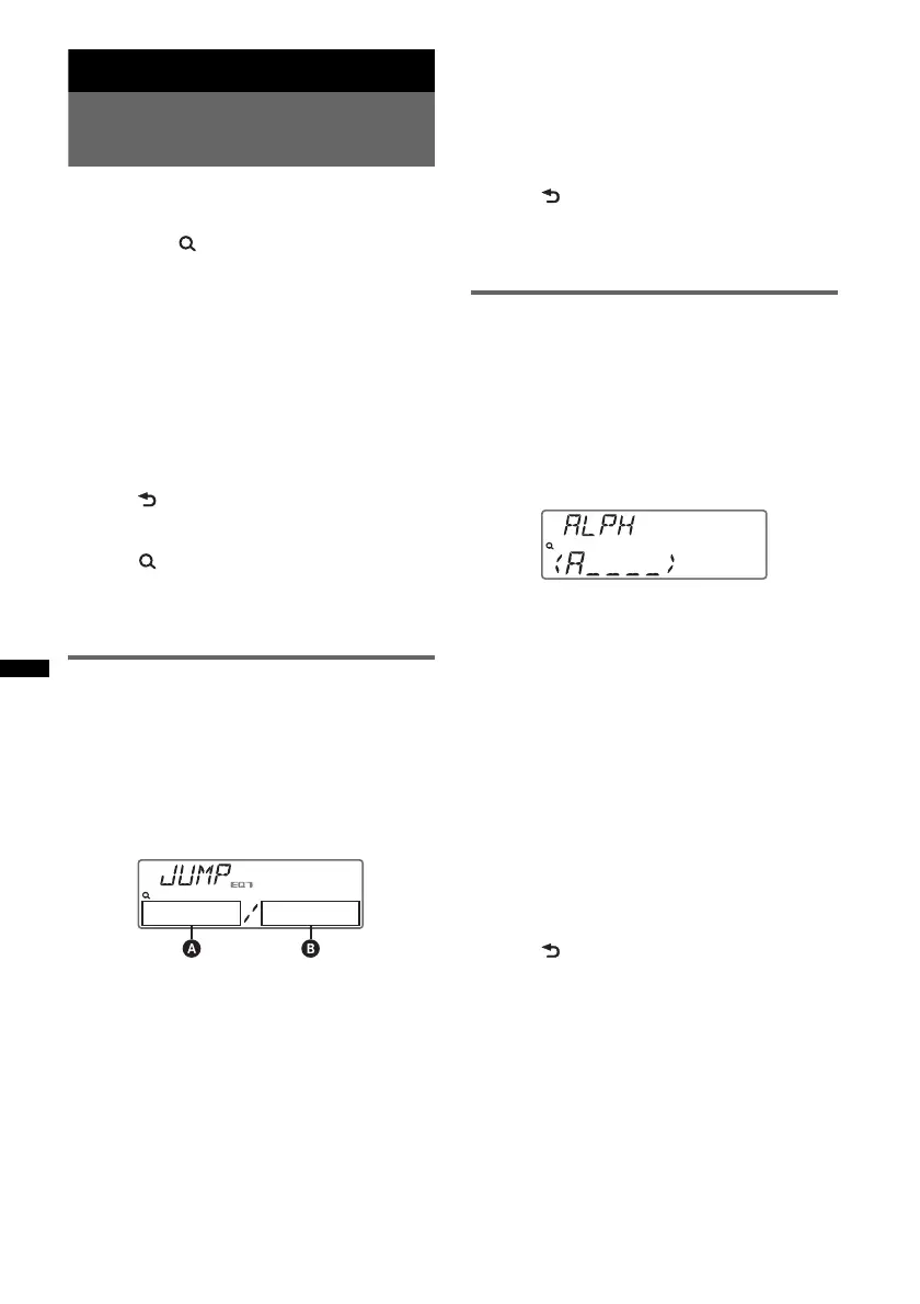
Búsqueda por omisión de
elementos — modo de Omisión
Cuando varios elementos se encuentran dentro de
una misma categoría, es posible encontrar el
elemento deseado rápidamente.
1 Presione (SEEK) + en el modo Quick-
BrowZer.
Aparecerá la siguiente pantalla.
A Número del elemento actual
B Número total de elementos en la capa actual
A continuación, aparecerá el nombre del
elemento.
2 Gire el selector de control para
seleccionar el elemento deseado o un
elemento cercano.
Salta en incrementos del 10% del número
total de elementos.
3 Presione el botón de selección.
Vuelve a la pantalla del modo Quick-BrowZer
y aparece el elemento seleccionado.
4 Gire el selector de control para
seleccionar el elemento deseado y
presiónelo.
Si el elemento seleccionado es una pista
empieza la reproducción.
Para cancelar el modo de Omisión
Presione (BACK) o (SEEK) –.
Nota
Si no se realiza ninguna operación durante 7
segundos, se cancelará el modo de Omisión.
Búsqueda por orden alfabético
— Búsqueda alfabética
Cuando se conecta un iPod a la unidad, es
posible buscar un elemento deseado de manera
alfabética.
1 Presione (SEEK ) + en el modo Quick-
BrowZer.
Aparecerá una lista ordenada
alfabéticamente.
2 Gire el selector de control para
seleccionar la primera letra del
elemento deseado y, a continuación,
presiónelo.
Aparecerá una lista ordenada alfabéticamente
de los elementos que comienzan por la letra
seleccionada.
Si no hay ninguna canción que comience por
la letra seleccionada, aparecerá “NOT
FOUND”.
3 Gire el selector de control para
seleccionar el elemento deseado y, a
continuación, presiónelo.
Si el elemento seleccionado es una pista
empieza la reproducción.
Para cancelar la Búsqueda alfabética
Presione (BACK) o (SEEK) –.
Aparecerá una lista de las categorías de
búsqueda.
Notas
En la Búsqueda alfabética se excluyen los símbolos
o los artículos (un, una, unos, unas, el, la, los, las)
situados delante de la letra seleccionada del
elemento.
En función del elemento de búsqueda que
seleccione, es posible que solamente esté
disponible el modo de Omisión.
Si no se realiza ninguna operación durante
5 segundos, se cancelará la Búsqueda alfabética.
La Búsqueda alfabética puede tardar un tiempo, en
función de la cantidad de pistas.

Table of Contents

Other manuals for Sony CDX-GT707UI

Related product manuals