EasyManua.ls Logo

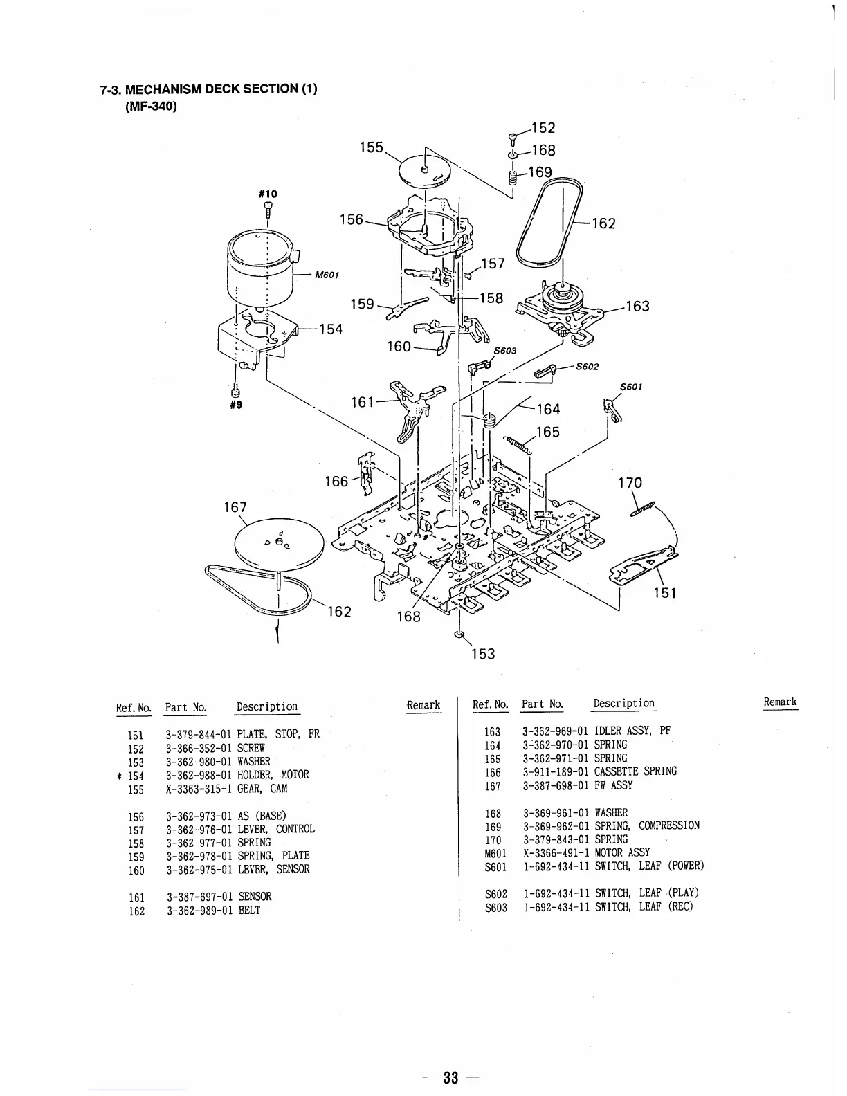
Sony CFD-340 - Mechanism Deck Section (1) Exploded View

Sony CFD-340
35 pages
Print Icon
To Next Page IconTo Next Page
To Next Page IconTo Next Page
To Previous Page IconTo Previous Page
To Previous Page IconTo Previous Page
Loading...

Related product manuals