EasyManua.ls Logo

Sony DAV-DZ290K - Front Panel Display

Sony DAV-DZ290K
120 pages
Print Icon
To Next Page IconTo Next Page
To Next Page IconTo Next Page
To Previous Page IconTo Previous Page
To Previous Page IconTo Previous Page
Loading...
110
GB
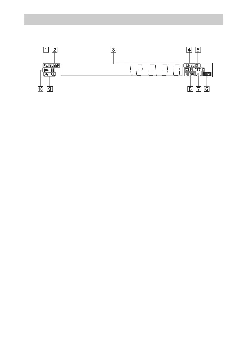
About the indications in the front panel display
A Lights up when the karaoke mode is
on. (80)
B Flashes when the sleep timer is set.
(85)
C Displays the system’s status such as
chapter, title, or track number, time
information, radio frequency, playing
status, decoding mode, etc.
D Lights up when a station is received.
(Radio only) (58)
E Stereo/Monaural effect (Radio only)
(59)
F Lights up when the HDMI OUT jack is
correctly connected to HDCP (High-
bandwidth Digital Content Protection)
compliant device with HDMI or DVI
(Digital Visual Interface) input. (18)
G Current surround format (Except for
JPEG image file)
H Lights up when the color system is set
to NTSC. (Asian, Australian, Middle
Eastern, and South African models
only)
I Lights up when a Super Audio CD/CD
is loaded. (35)
J Playing status
Front panel display

Table of Contents

Other manuals for Sony DAV-DZ290K

Related product manuals