EasyManua.ls Logo

Sony ECM-999 - Printed Wiring Boards

Sony ECM-999
15 pages
Print Icon
To Next Page IconTo Next Page
To Next Page IconTo Next Page
To Previous Page IconTo Previous Page
To Previous Page IconTo Previous Page
Loading...
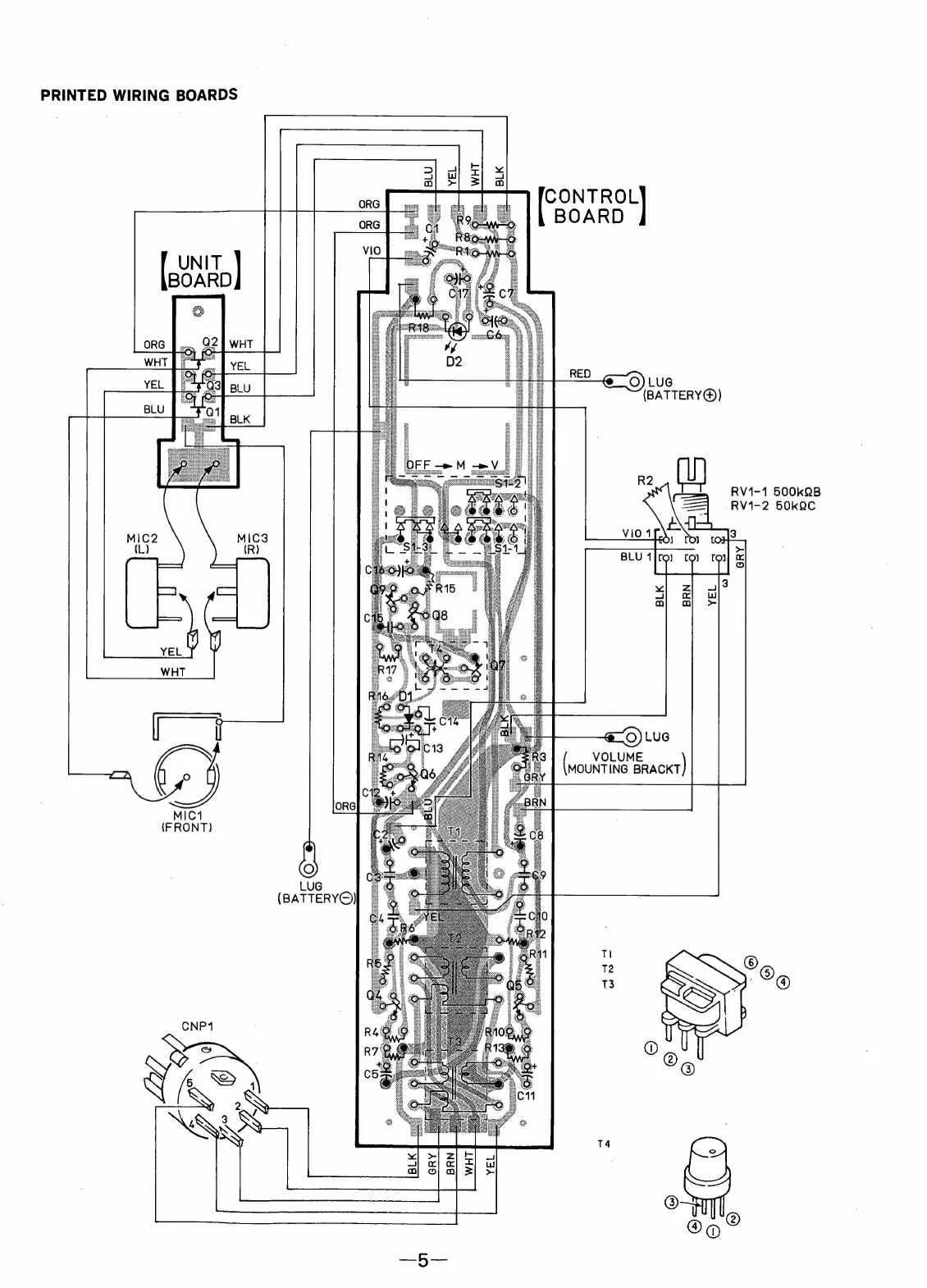
PRINTED
WIRING
BOARDS
I
Oa
or
ZO
ou
|
(BATTERY®)
LUG
a)
RV1-1
500k2B
-RV1-2
50kQC
MIC3
MIC2
Co}
(R)
(L)
VOLUME
MOUNTING
BRACKT
Y
ke)
MIC
(FRONT)
Z__L\
LUG
(BATTERYO©)
TI
T2
13
CNP
1
T4