EasyManua.ls Logo

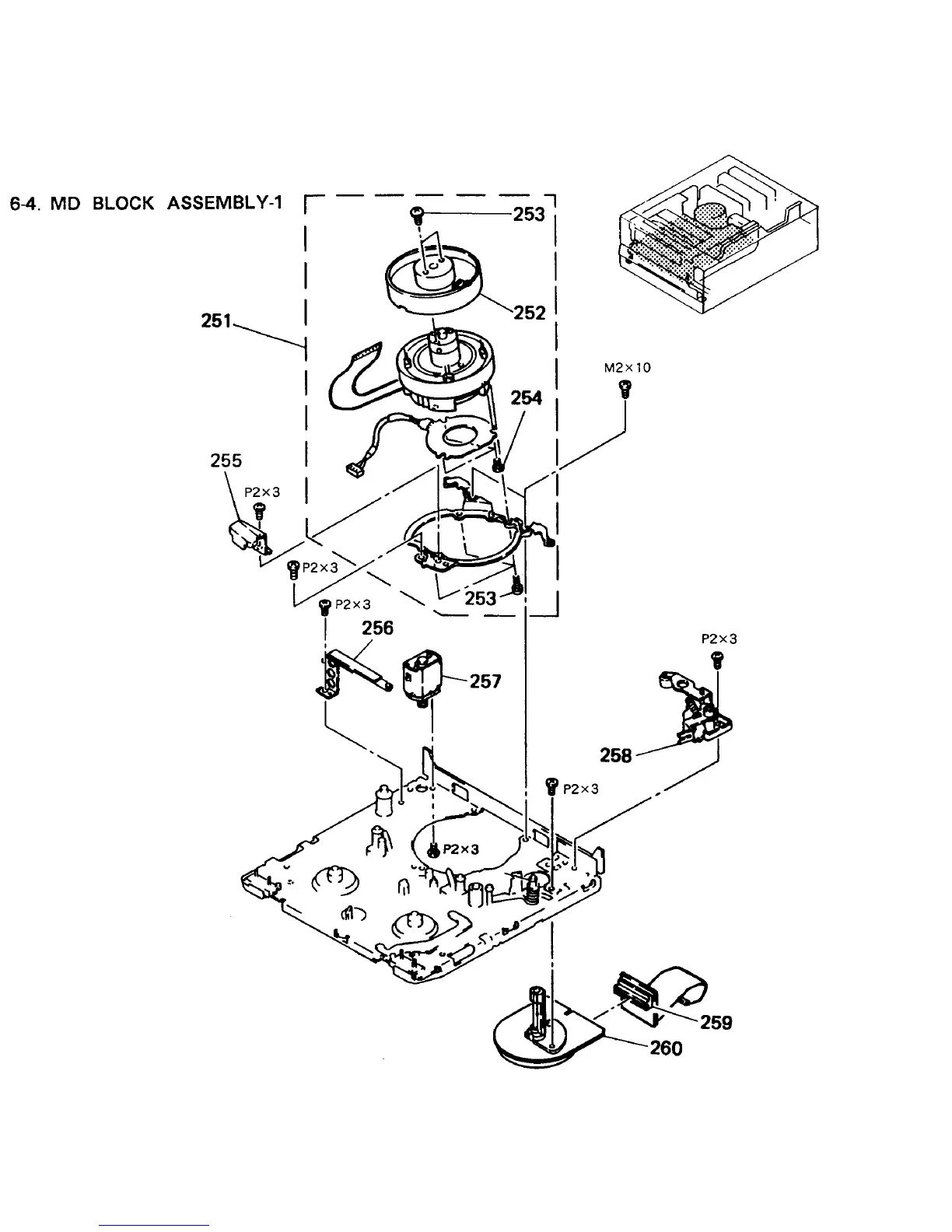
Sony EV-C3E - MD Block Assembly - 1

Sony EV-C3E
52 pages
Print Icon
To Next Page IconTo Next Page
To Next Page IconTo Next Page
To Previous Page IconTo Previous Page
To Previous Page IconTo Previous Page
Loading...

Table of Contents

Related product manuals