EasyManua.ls Logo

Sony FDT-5BX5 - Dial Pointer Setting

Sony FDT-5BX5
21 pages
Print Icon
To Next Page IconTo Next Page
To Next Page IconTo Next Page
To Previous Page IconTo Previous Page
To Previous Page IconTo Previous Page
Loading...
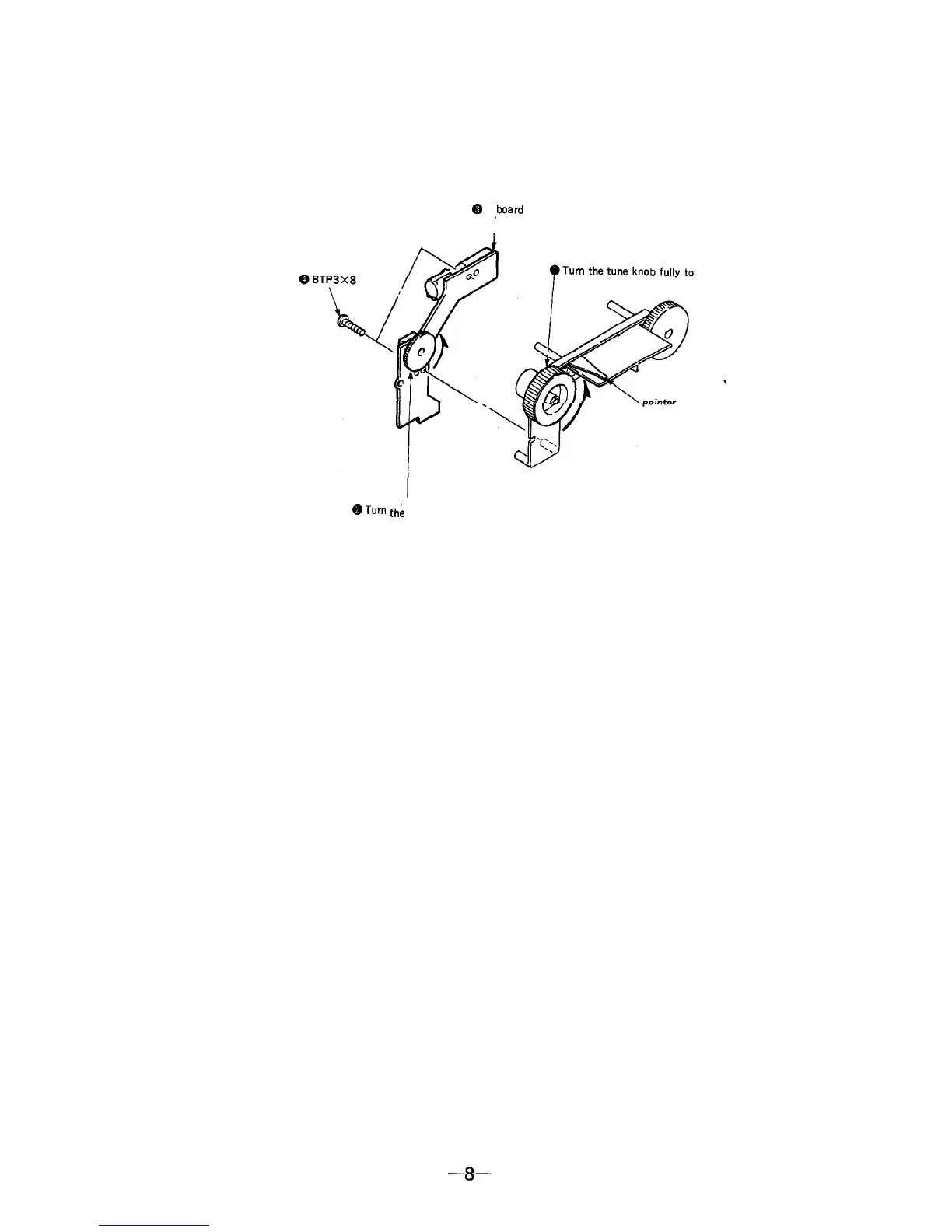
2-5. DIAL POINTER SETTING
@ R ,board
the
direction of arrow.
‘.
@Turn
th:
tuning capacitor drum fully to the direction of arrow.
-8-