EasyManua.ls Logo

Sony MDM-X4 - Page 72

Sony MDM-X4
194 pages
Print Icon
To Next Page IconTo Next Page
To Next Page IconTo Next Page
To Previous Page IconTo Previous Page
To Previous Page IconTo Previous Page
Loading...
7
F
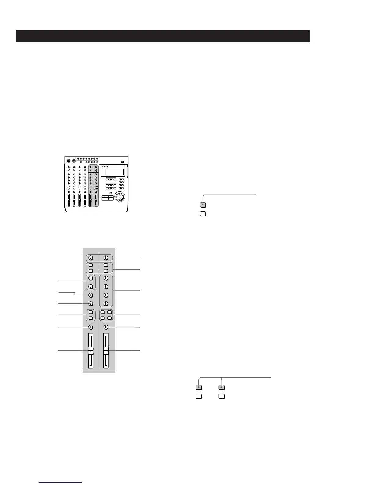
Appellation et fonction des organes
8 Boutons de commande panoramique (PAN)
Ajustent l’équilibre sonore du bus stéréophonique ou
de groupe. Tournez vers “L” pour déplacer le son vers
le bus de groupe 1 ou 3 et le côté “L” du bus
stéréophonique. Tournez vers “R” pour déplacer le
son vers le bus de groupe 2 ou 4 et le côté “R” du bus
stéréophonique.
9 Potentiomètres 1 à 4
Ajustent le volume de chaque canal.
Canal 5, 6 et MASTER
1 Boutons de réglage du son final MASTER AUX 1 et 2
Ajustent le niveau du son final de sortie des bus AUX
transmis par les prises AUX OUTPUT 1 et 2.
2 Bouton de réglage des aigus (HIGH)
Ajuste le niveau des aigus du son reçu par les prises
INPUT 5/6 en haut de l’appareil. Offre une égalisation
de type shelving.
3 Bouton de réglage des graves (LOW)
Ajuste le niveau des graves du son reçu par les prises
INPUT 5/6 en haut de l’appareil. Offre une égalisation
de type shelving.
4 Touches d’assignation (ASSIGN)
Déterminent à quel bus de groupe le son reçu par les
prises INPUT 5/6 en haut de l’appareil sera assigné
(sur quelle piste de l’enregistreur il sera enregistré).
Le canal 5 peut seulement être assigné au bus de
groupe 1 ou 3.
Le canal 6 peut seulement être assigné au bus de
groupe 2 ou 4.
EXEMPLE: Pour assigner les sons des canaux 5 et 6 aux
bus de groupe 1 et 2 respectivement (pour
les enregistrer sur les pistes 1 et 2 de
l’enregistreur).
5 Bouton de réglage de l’équilibre (BALANCE)
Ajuste l’équilibre relatif des canaux 5 et 6.
Tournez vers “L” pour augmenter le volume du canal 5.
Tournez vers “R” pour augmenter le volume du canal 6.
6 Potentiomètre 5/6
Ajuste simultanément le volume des canaux 5 et 6.
7 Boutons RETURN (1 et 2)
Ajustent le volume du son reçu par les prises RETURN
1 et 2 en haut de l’appareil. (Le son de retour est
généralement utilisé pour ajouter des effets extérieurs.)
8 Touches d’assignation (ASSIGN)
Déterminent à quel bus de groupe (1 à 4) le son de
retour sera assigné (sur quelle piste de l’enregistreur il
sera enregistré).
Exemple: Pour assigner le son des retours 1 et 2 aux
bus de groupe 1 et 2 (pour l’enregistrer sur
les pistes 1 et 2 de l’enregistreur).
ASSIGN ASSIGN
1 2 1 2
3 43 4
Appuyez
(voir page suivante)
.
7
8
0
9
1
4
2
3
5
!™
6
ASSIGN
1 2
3 4
Appuyez

Table of Contents

Related product manuals