EasyManua.ls Logo

Sony PS-X7 - Page 39

Sony PS-X7
39 pages
Print Icon
To Previous Page IconTo Previous Page
To Previous Page IconTo Previous Page
Loading...
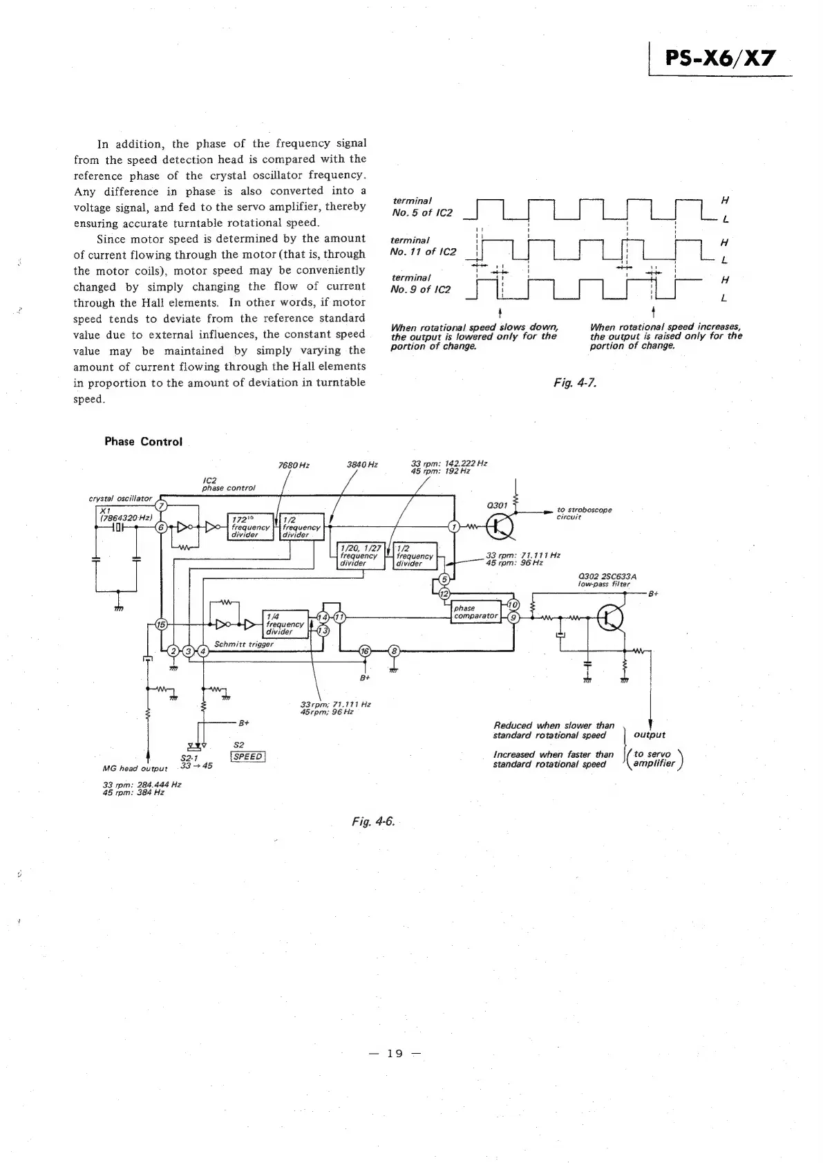
In
addition,
the
phase
of
the
frequency
signal
from
the
speed
detection
head
is
compared
with
the
reference
phase
of
the
crystal
oscillator
frequency.
Any
difference
in
phase
is
also
converted
into
a
voltage
signal,
and
fed
to
the
servo
amplifier,
thereby
ensuring
accurate
turntable
rotational
speed.
Since
motor
speed
is
determined
by
the
amount
of
current
flowing
through
the
motor
(that
is,
through
the
motor
coils),
motor
speed
may
be
conveniently
changed
by
simply
changing
the
flow
of
current
through
the
Hall
elements.
In
other
words,
if
motor
speed
tends
to
deviate
from
the
reference
standard
value
due
to
external
influences,
the
constant
speed
value
may
be
maintained
by
simply
varying
the
amount
of
current
flowing
through
the
Hall
elements
in
proportion
to
the
amount
of
deviation
in
turntable
speed.
Phase
Control
3840
Hz
7680
Hz
1C2
phase
control
crystal
oscillator
172"°
frequency
divider
1/2
frequency
divider
Xi
fi
"ah
Hz)
frequency
divider
1/44
frequency
divider
er
99
33rpm,;
71.111
Hz
1/20,
1/27
PS-X6/X7
terminal
H
tt
H
'
terminal
i
H :
t
H
Try
a
wHe
ot
terminal
ieee
ae
vote
H
1
1
L
'
{
When
rotational
speed
increases,
the
output
is
raised
only
for
the
portion
of
change.
When
rotational
speed
slows
down,
the
output
is
lowered
only
for
the
portion
of
change.
Fig.
4-7.
33
rpm:
142,222
Hz
45
rpm:
192
Hz
to
stroboscope
Circuit
1/2
frequency
divider
33
rpm:
71.111
Hz
45
rom:
96
Hz
Q302
2SCE33A
low-pass
filter
45rpm;
96
Hz
Bt
Reduced
when
slower
than
standard
rotational
speed
output
Vv
S2
S$2-1
SPEED
Increased
when
faster
than
to
servo
MG
head
output
93
7
45
standard
rotational
speed
amplifier
33
rom:
284.444
Hz
45
rpm:
384
Hz
Fig.
4-6.
Os

Other manuals for Sony PS-X7

Related product manuals