EasyManua.ls Logo

Sony SDM-E76D - Wiring Diagram

Sony SDM-E76D
20 pages
Print Icon
To Next Page IconTo Next Page
To Next Page IconTo Next Page
To Previous Page IconTo Previous Page
To Previous Page IconTo Previous Page
Loading...
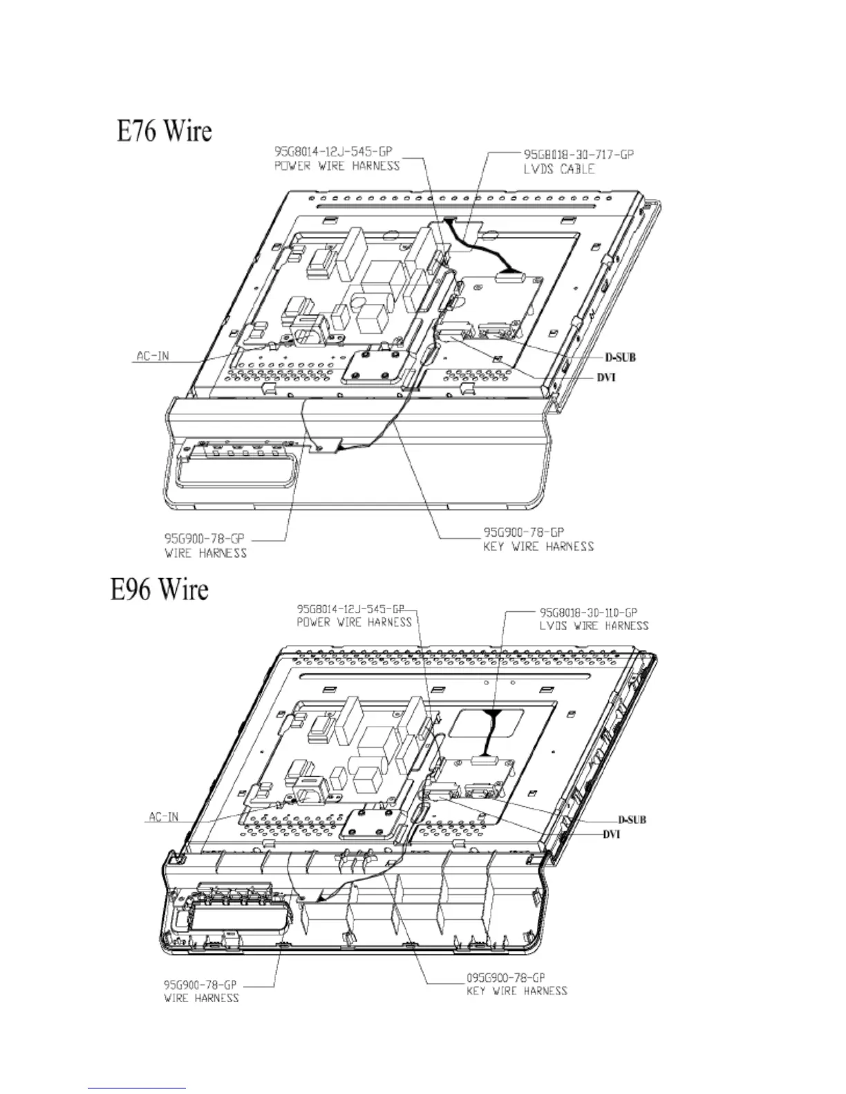
WIRING DIAGRAM
13 SDM-E76A,D / SDM-E96A,D(E)

Other manuals for Sony SDM-E76D

Related product manuals