EasyManua.ls Logo

Sony STR-DA3000ES - Front Panel Section-2

Sony STR-DA3000ES
168 pages
Print Icon
To Next Page IconTo Next Page
To Next Page IconTo Next Page
To Previous Page IconTo Previous Page
To Previous Page IconTo Previous Page
Loading...
111
STR-DA3000ES
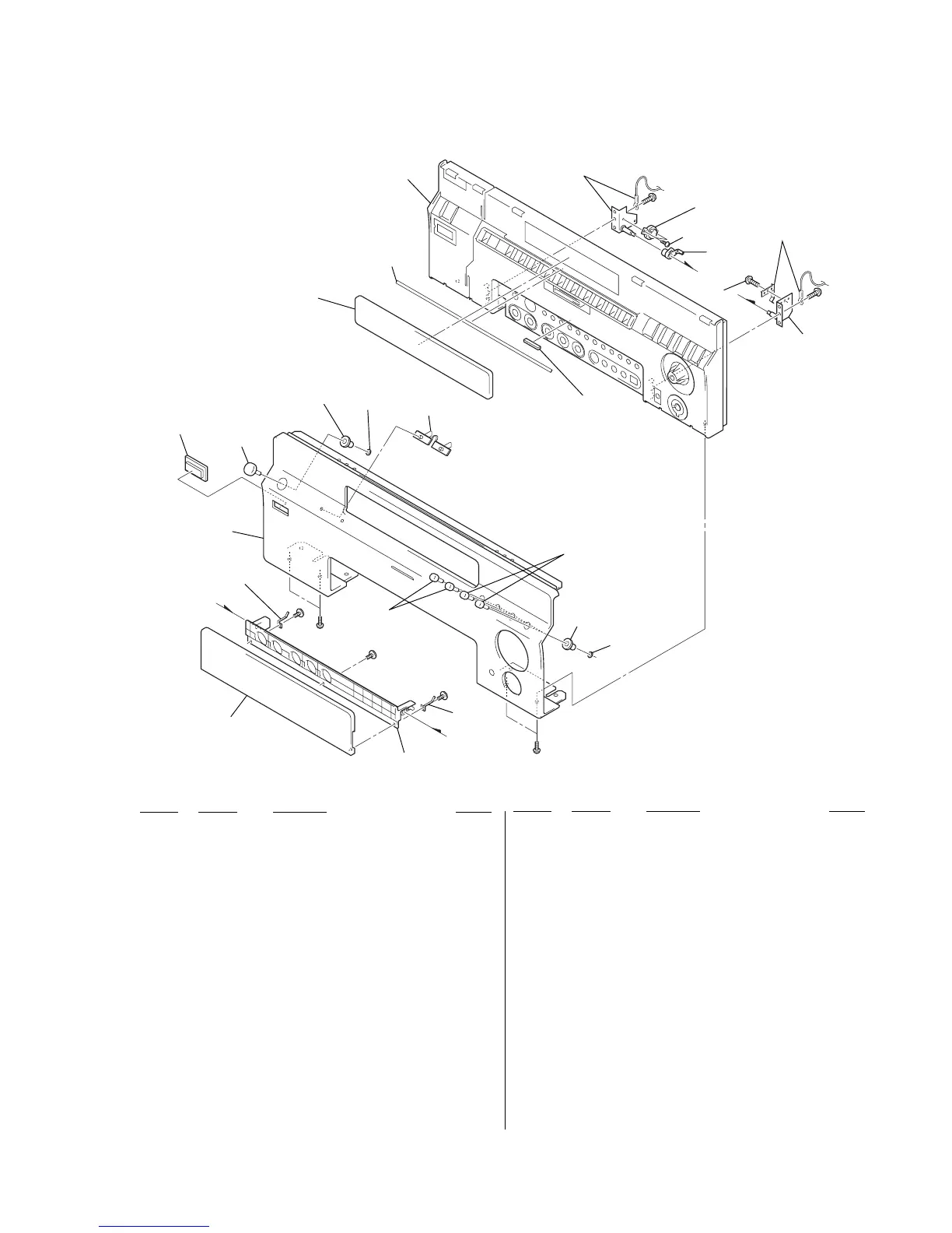
7-3. FRONT PANEL SECTION-2
Ref. No. Part No. Description Remark
Ref. No. Part No. Description Remark
101 4-246-526-02 LID (SILVER)
101 4-246-526-11 LID (GOLD)
101 4-246-526-21 LID (BLACK)
102 X-4955-632-1 ESCUTCHEON (LID) ASSY (SILVER)
102 X-4955-633-1 ESCUTCHEON (LID) ASSY (GOLD)
102 X-4955-634-1 ESCUTCHEON (LID) ASSY (BLACK)
103 3-325-697-01 WASHER
104 X-4955-653-1 ESCUTCHEON (DIA. 7) ASSY
105 4-246-100-03 BUTTON (DIA. 7) (SILVER)
105 4-246-100-13 BUTTON (DIA. 7) (GOLD)
105 4-246-100-23 BUTTON (DIA. 7) (BLACK)
106 4-246-102-02 WINDOW (REMOTECONTROL)
107 4-246-121-03 BUTTON (POWER) (SILVER)
107 4-246-121-13 BUTTON (POWER) (GOLD)
107 4-246-121-23 BUTTON (POWER) (BLACK)
108 X-4955-652-1 ESCUTCHEON (POWER) ASSY
109 4-246-509-41 PANEL, FRONT (SILVER)
109 4-246-509-51 PANEL, FRONT (GOLD: AEP)
109 4-246-509-61 PANEL, FRONT (BLACK)
109 4-246-509-71 PANEL, FRONT (GOLD: TW, KR)
110 4-246-107-01 INDICATOR (A)
111 4-249-861-01 PLATE, LIGHT INTERCEPTION
112 4-246-538-01 PLATE, INDICATION (for GOLD, SILVER)
112 4-246-538-11 PLATE, INDICATION (for BLACK)
113 4-240-391-01 DAMPER, OIL
114 4-246-743-01 GEAR (DAMPER)
115 4-951-620-01 SCREW (2.6X8), +BVTP
116 X-4955-639-2 BASE ASSY, PANEL (SILVER)
116 X-4955-640-2 BASE ASSY, PANEL (GOLD)
116 X-4955-641-2 BASE ASSY, PANEL (BLACK)
#1 7-685-646-79 SCREW +BVTP 3X8 TYPE2 IT-3
#3 7-685-536-19 SCREW +BTP 2.6X12 TYPE2 N-S
#4 7-621-770-87 SCREW +B 2.6X5 (for GOLD, SILVER)
#4 7-621-775-20 SCREW +B 2.6X5 (for BLACK)
#5 7-685-853-04 SCREW +BVTT 2X6 (S)
101
102
103
103
104
105
105
106
107
108
109
D
E
D
E
110
111
112
113
114
115
116
not supplied
not supplied
not supplied
not supplied
#3
#3
#4
#4
not
supplied
not
supplied
#4
#5
#1
#1

Table of Contents

Other manuals for Sony STR-DA3000ES

Related product manuals