EasyManua.ls Logo

Sony UP-DF500 - Setup of E-Mail; Setup of the Unit

Sony UP-DF500
39 pages
Print Icon
To Next Page IconTo Next Page
To Next Page IconTo Next Page
To Previous Page IconTo Previous Page
To Previous Page IconTo Previous Page
Loading...
Setup
Setup of the Unit / Setup of E-Mail
37
Setup of the Unit
Perform the following settings when the unit is used for
the first time after being purchased, or when the IP
address assigned to the UP-DF500 is changed.
1
Open the DICOM Settings page.
For detailed information on how to open the page,
see “Opening the Setup Window” (on page 34).
2
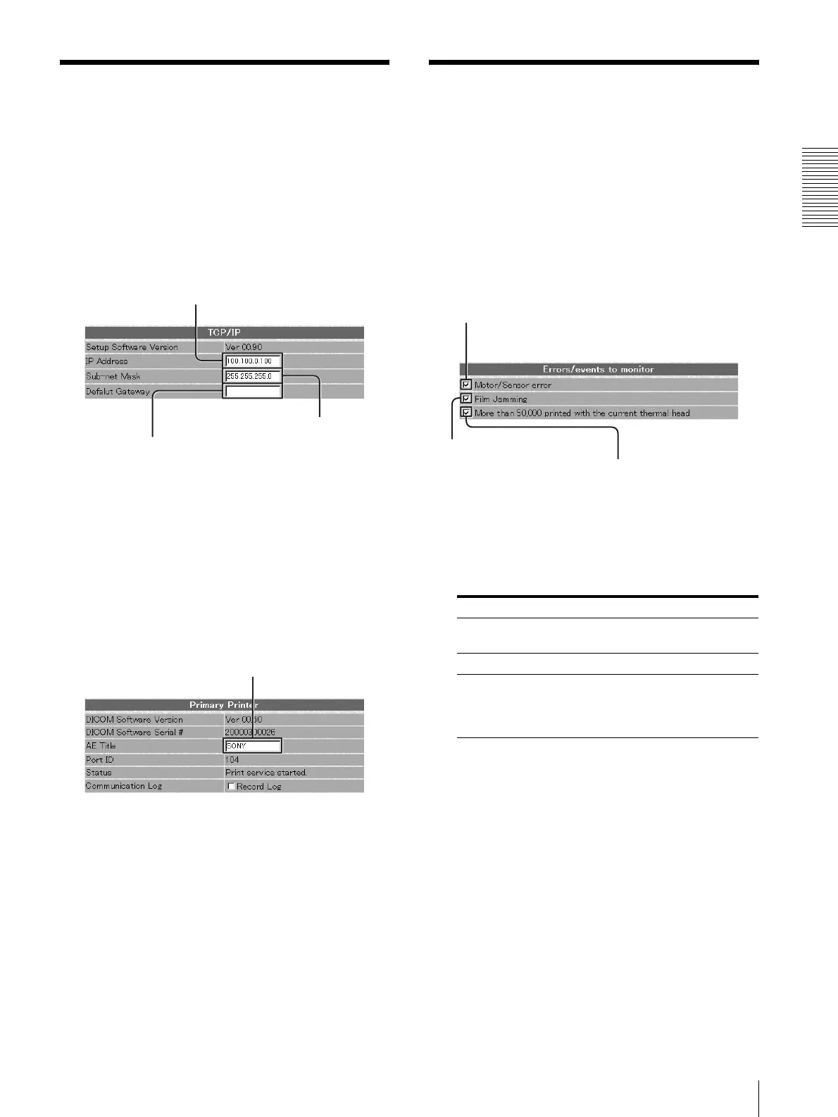
Perform the required settings related to TCP/IP.
1 Enter the IP address of the UP-DF500 on the
network in the IP Address text box.
2 Enter the sub-net mask in the Sub-net Mask text
box.
3 Enter the IP address of the default gateway if a
gateway is used on the network.
3
Enter the DICOM AE title in the AE Title text box.
Up to 16 characters can be entered.
4
Click the [Save settings] button.
The settings are saved.
Setup of E-Mail
The E-Mail settings page allows you to set up E-mail
service so that an e-mail message will be sent
automatically when an error occurs in the UP-DF500.
1
Open the E-Mail settings page.
For detailed information on how to open the page,
see “Opening the Setup Window” (on page 34).
2
Set criteria determining when an e-mail message
should be sent.
Place the check marks on the check box
corresponding to an error that requires notification
via an e-mail message.
IP Address text box
Sub-net Mask text box
Default Gateway text box
DICOM AE text box
Error item Content
Motor/Sensor error When an error occurs in the motor/
sensor system.
Film Jamming When a film sheet has jammed.
More than 50,000
printed with the
current thermal
head
When the total number of prints
with the current thermal head
exceeds 50,000.
Motor/sensor error check box
Film jamming check box
More than 50,000 printed with the
current thermal head check box

Related product manuals