EasyManua.ls Logo

Sony VPL-EX7 - Page 25

Sony VPL-EX7
Print Icon
To Next Page IconTo Next Page
To Next Page IconTo Next Page
To Previous Page IconTo Previous Page
To Previous Page IconTo Previous Page
Loading...
9
GB
Replacing the Lamp
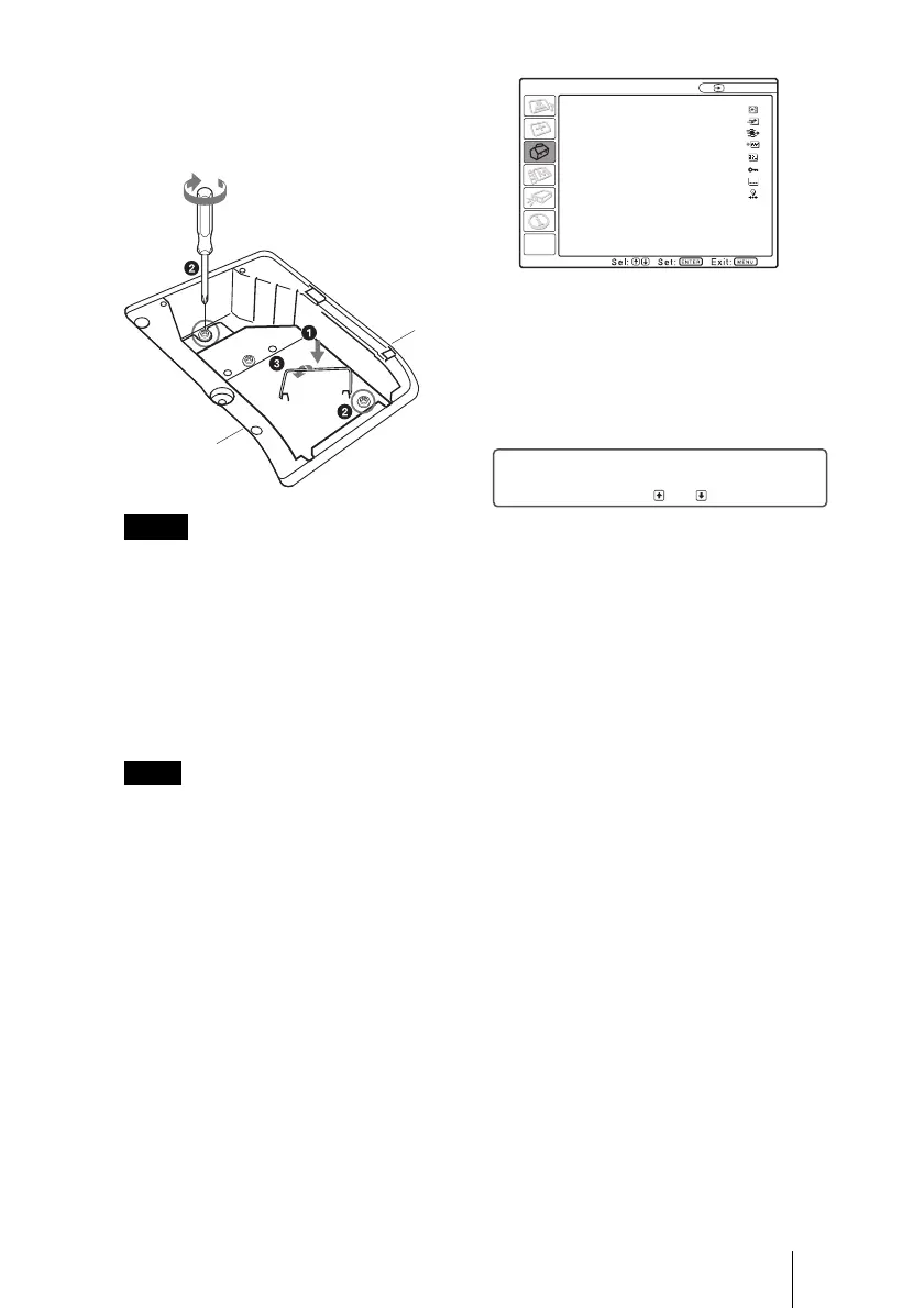
5 Insert the new lamp all the way in until
it is securely in place (a). Tighten the
two screws (b). Fold down the
handle to replace it (c).
Be careful not to touch the glass surface
of the lamp.
The power will not turn on if the lamp is
not secured properly.
Do not allow any liquid or other objects
into the slot to avoid electrical shock or
fire.
6 Close the lamp cover and tighten the
screw.
Be sure to attach the lamp cover securely
as it was. If not, the projector cannot be
turned on.
7 Turn the projector back over.
8 Connect the power cord.
The
?/1 key lights in red.
9 Press the ?/1 key to turn the projector
on.
10Press the MENU key, and then select
the SET SETTING menu.
11Select “Lamp Timer Reset”, and then
press the ENTER key.
12Select “Execute” with the V key, and
then press the ENTER key.
The Lamp Timer is initialized to 0,
and “Change the Lamp and clean the
Filter?” is displayed in the menu
screen.
Refer to page 10 for “Cleaning the Air
Filter”.
13Select “Yes” with the v key.
“Lamp Timer Reset Complete!” is
displayed in the menu screen.
Disposal of the used lamp
For the customers in the USA
Lamp in this product contains mercury.
Disposal of these materials may be
regulated due to environmental
considerations. For disposal or recycling
information, please contact your local
authorities or the Electronic Industries
Alliance (www.eiae.org).
Notes
Note
SET SETTING
Input-A
Smart APA: On
Auto Input Search:
Off
Input-A Signal Sel.:
Auto
Color System: Auto
Power Saving: Off
Panel Key Lock: Off
CC Display: Off
Lamp Timer Reset
Change the Lamp and clean the Filter?
Yes:
No:

Table of Contents

Related product manuals