EasyManua.ls Logo

Sony VPL-EX7 - Page 39

Sony VPL-EX7
Print Icon
To Next Page IconTo Next Page
To Next Page IconTo Next Page
To Previous Page IconTo Previous Page
To Previous Page IconTo Previous Page
Loading...
9
FR
Remplacement de la lampe
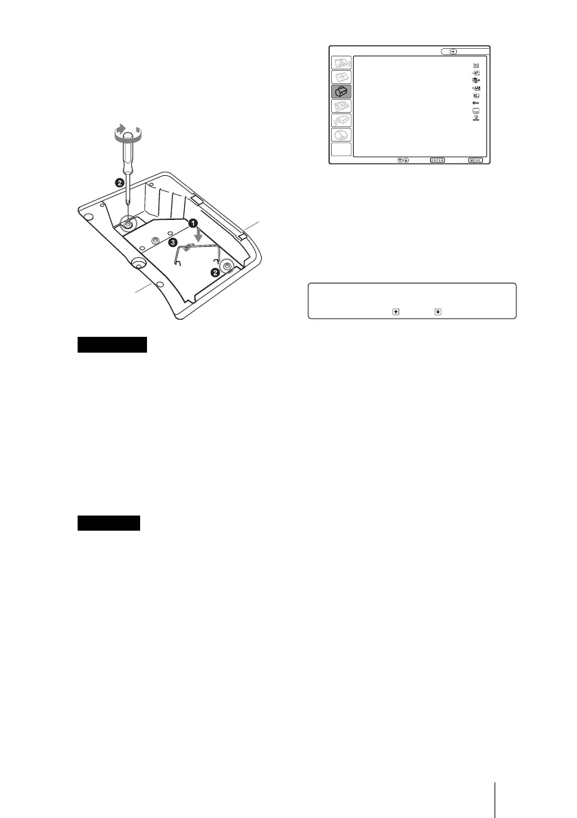
5 Introduisez la nouvelle lampe à fond
jusqu’à ce qu’elle soit correctement en
place (a). Serrez les deux vis (b).
Rabattez la poignée pour la remettre
en place (c).
Veillez à ne pas toucher la surface en
verre de la lampe.
Le projecteur ne se met pas sous tension
si la lampe n’est pas correctement
installée.
Veillez à ce qu’aucun liquide ou objet ne
tombe à l’intérieur de la fente afin
d’éviter tout risque d’électrocution ou
d’incendie.
6 Refermez le couvercle de la lampe et
serrez la vis.
Assurez-vous de fixer solidement le
couvercle de lampe dans sa position
initiale. Sinon le projecteur ne peut pas être
mis sous tension.
7 Remettez le projecteur à l’endroit.
8 Branchez le cordon d’alimentation.
La touche
?/1 s’allume en rouge.
9 Appuyez sur la touche ?/1 pour
mettre le projecteur sous tension.
10Appuyez sur la touche MENU, puis
sélectionnez le menu RÉGLAGE.
11Sélectionnez « Réinit. durée lampe »,
puis appuyez sur la touche ENTER.
12Sélectionnez « Exécuter » avec la
touche
V et appuyez sur la touche
ENTER.
La durée de lampe est remise à 0, et
« Changer la lampe et nettoyer le
filtre? » s’affiche sur l’écran de menu.
Reportez-vous à page 10 pour
« Nettoyage du filtre à air ».
13Sélectionnez « Oui » avec la touche v.
« Réinitialisation de durée de lampe
terminée! » s’affiche dans l’écran de
menu.
Remarques
Remarque
RÉGLAGE
Entrée A
APA intelligent: On
Rech. ent. auto.: Off
Sél sign entr A: Auto
Standard coul.: Auto
Mode économique
: Off
Verr touches: Off
Affichage CC: Off
Réinit. durée lampe
Sél: Régl: Sortie:
Changer la lampe et nettoyer le filtre?
Oui:
Non:

Table of Contents

Related product manuals