EasyManua.ls Logo

Sony VPL-EX7 - Page 53

Sony VPL-EX7
Print Icon
To Next Page IconTo Next Page
To Next Page IconTo Next Page
To Previous Page IconTo Previous Page
To Previous Page IconTo Previous Page
Loading...
9
ES
Sustitución de la lámpara
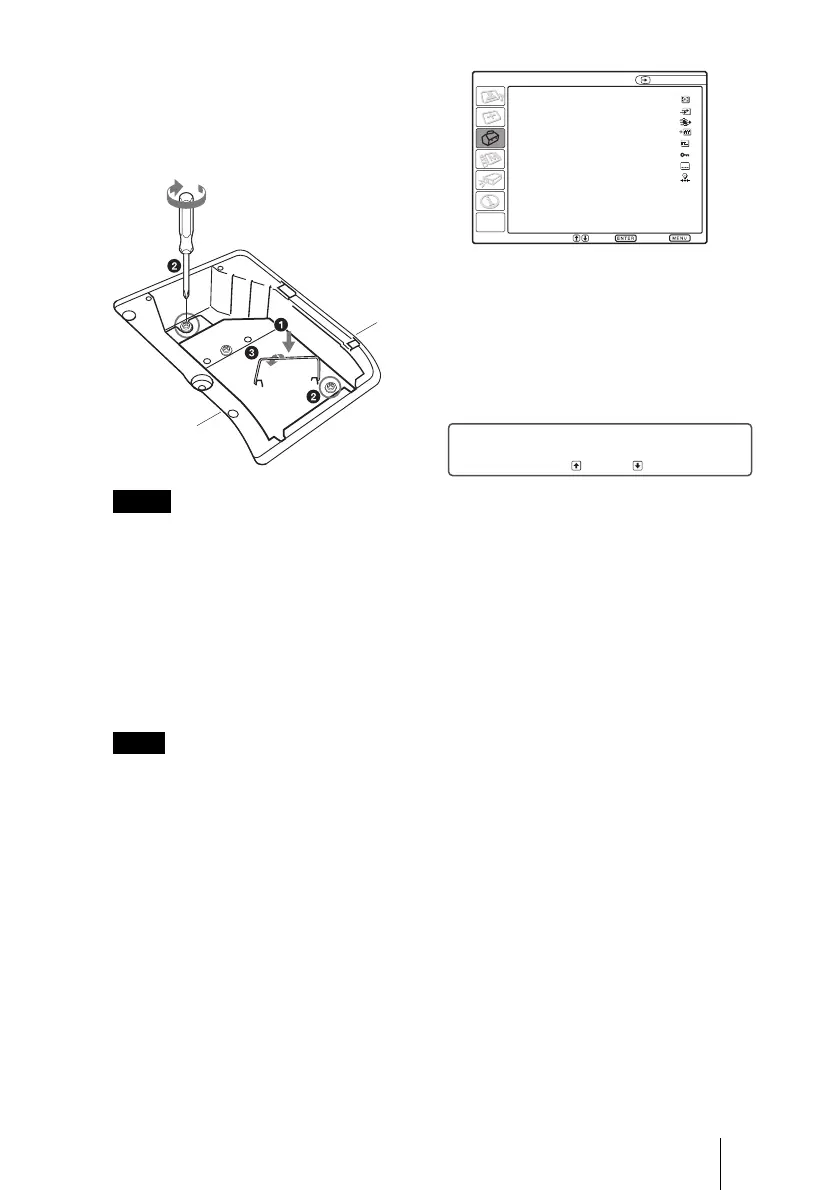
5 Introduzca por completo la lámpara
nueva hasta que quede encajada en su
sitio (a). Apriete los dos tornillos
(b). Incline el asa hacia abajo para
volverla a colocar (c).
Tenga cuidado de no tocar la superficie
de cristal de la lámpara.
La alimentación no se activará si la
lámpara no está bien instalada.
No deje que ningún líquido u otros
objetos penetren en la ranura para
evitar una descarga eléctrica o un
incendio.
6 Cierre la cubierta de la lámpara y
apriete el tornillo.
Asegúrese de fijar la cubierta de la lámpara
como estaba. Si no lo hace, no podrá
encender el proyector.
7 Vuelva a darle la vuelta al proyector.
8 Enchufe el cable de alimentación.
La tecla ?/1 se ilumina en rojo.
9 Pulse la tecla ?/1 para encender el
proyector.
10Pulse la tecla MENU y, a
continuación, seleccione el menú
AJUSTE.
11Seleccione “Reiniciar cont. lámp.” y,
a continuación, pulse la tecla ENTER.
12Seleccione “Ejecutar” con la tecla V
y, a continuación, pulse la tecla
ENTER.
El contador de la lámpara se inicializa
a 0 y se muestra “Desea cambiar la
lámpara y limpiar el filtro?” en la
pantalla de menús.
Consulte la página 10 para “Limpieza
del filtro de aire”.
13Seleccione “Sí” con la tecla v.
Aparece “Reinic. cont. lámp.
completa.” en la pantalla de menús.
Notas
Nota
AJUSTE
Entrada A
APA inteligente:
Búsq. ent. auto.: No
Sel. señ. ent. A: Automático
Sistema de color
: Automático
Ahorro de energ
í
a
: No
Blq. tec. panel: No
Visualización CC: No
Reiniciar cont. lámp.
Sel: Pon: Salir:
Desea cambiar la lámpara y limpiar el filtro?
Sí:
No:

Table of Contents

Related product manuals