EasyManua.ls Logo

Space SFL 5535 - Page 73

Space SFL 5535
94 pages
Print Icon
To Next Page IconTo Next Page
To Next Page IconTo Next Page
To Previous Page IconTo Previous Page
To Previous Page IconTo Previous Page
Loading...
30/04/13
73
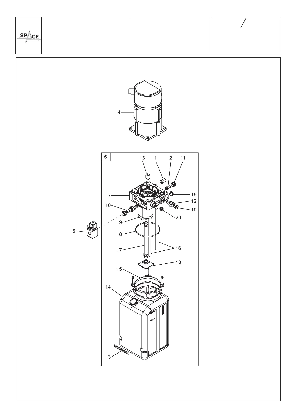
Denominazione tavola - Table definition
Valida per i modelli - Apply to models
N°tavola
Table no
Indice di modifica
Change index
0579-M080-0-P1
SFL 5535 - SFL 5535 I
8A/0
CENTRALINA OLEODINAMICA
(MOTORE TRIFASE 50-60 Hz)
HYDRAULIC CONTROL BOX
(50-60 Hz 3-PHASE MOTOR)

Table of Contents

Related product manuals