EasyManua.ls Logo

Spearhead Q2000HD - Parts List - Cross Shaft (Q2500 HD;Q2800 HD); Cross Shaft (Q2500 HD;Q2800 HD) Diagram

Default Icon
39 pages
Print Icon
To Next Page IconTo Next Page
To Next Page IconTo Next Page
To Previous Page IconTo Previous Page
To Previous Page IconTo Previous Page
Loading...
Spearhead QHD Flail Mowers
34
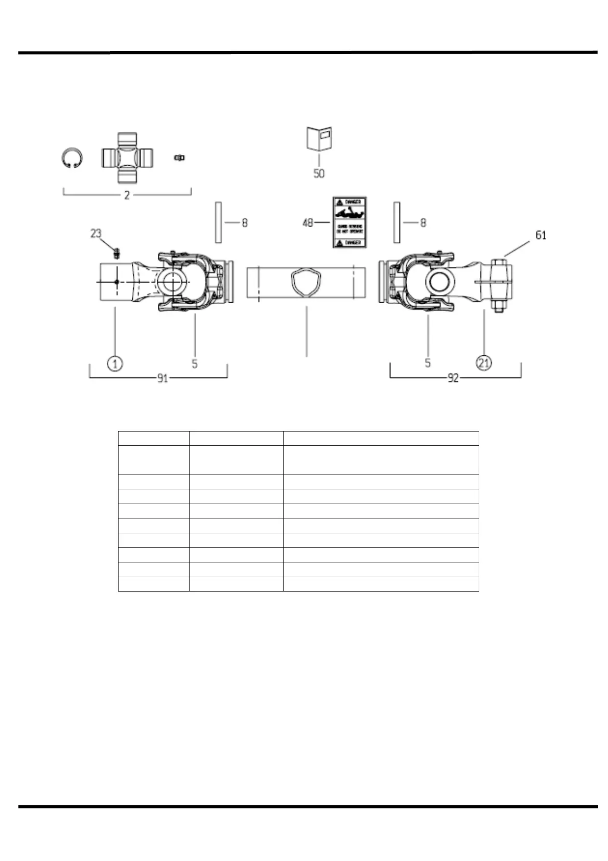
REF NO. PART NO. DESCRIPTION.
5770531 CROSS SHAFT -
Q2500HD/Q2800HD
1 5770529.01 YOKE - GEARBOX END
2 5770529.02 CROSS JOURNAL
5 5770529.03 YOKE - IN-BOARD OUTER
8 5770529.04 PIN
12 5770531.01 TUBE
21 5770529.06 YOKE - PULLEY END
23 5770529.07 GREASE NIPPLE
61 5770529.08 NUT AND BOLT
Cross Shaft Assembly
5770531
-
Q2500HD/Q2800HD

Other manuals for Spearhead Q2000HD

Related product manuals