EasyManua.ls Logo

SPX FLOW W61 - 6 Air-To-Air Long Stroke Actuator

SPX FLOW W61
90 pages
Print Icon
To Next Page IconTo Next Page
To Next Page IconTo Next Page
To Previous Page IconTo Previous Page
To Previous Page IconTo Previous Page
Loading...
Parts Lists Waukesha Cherry-Burrell Brand W60/W80 Valves
Page 72 95-03022 08/2018
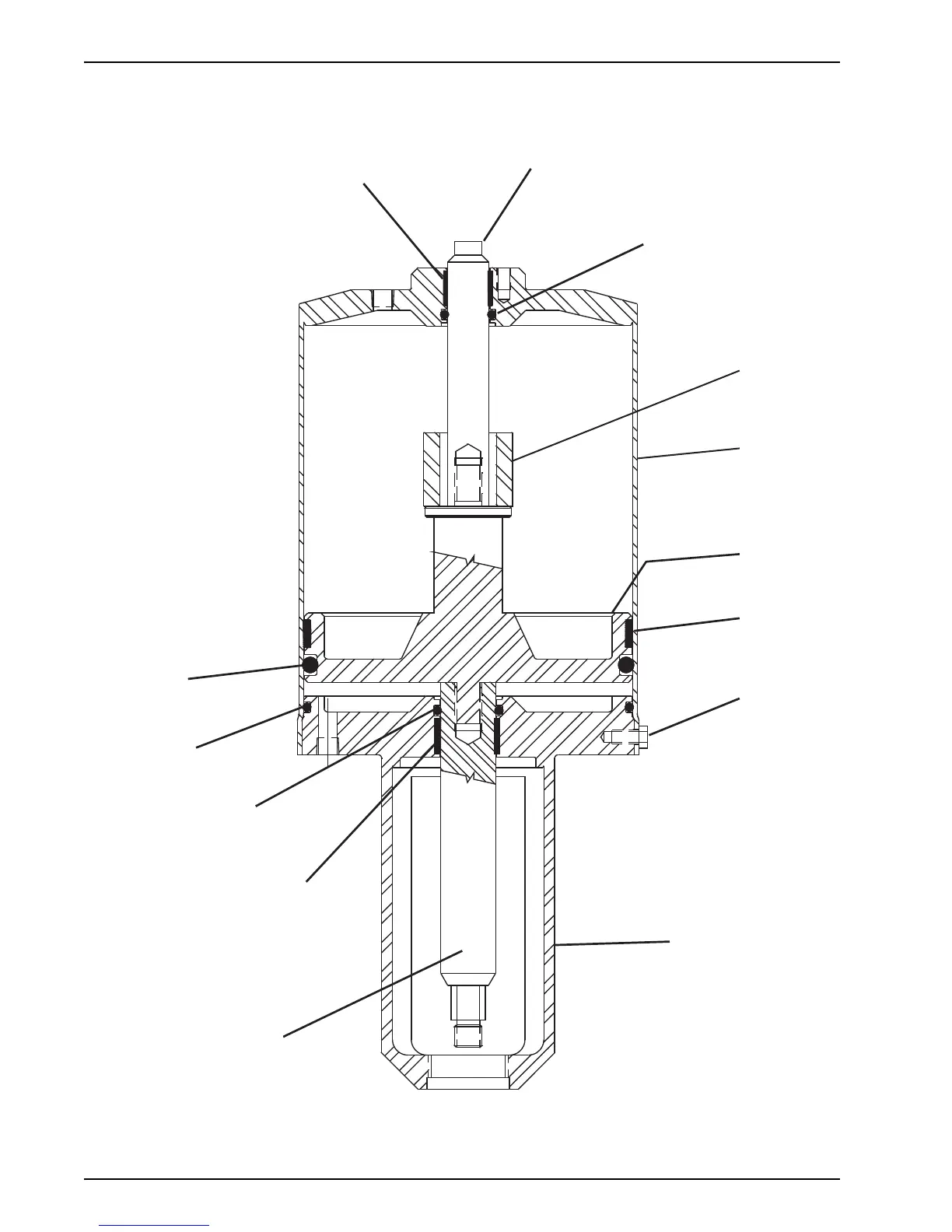
6" Air-to-Air Long Stroke Actuator
VA100-408
5
1,1a,1b,1c,1d
6
10
14
9
12
3
15
11
7
8
4
16

Table of Contents

Related product manuals