EasyManua.ls Logo

SPX FLOW W64 - 4, 5, and 6 Air-To-Lower Adjustable-Spring Actuator

SPX FLOW W64
90 pages
Print Icon
To Next Page IconTo Next Page
To Next Page IconTo Next Page
To Previous Page IconTo Previous Page
To Previous Page IconTo Previous Page
Loading...
Waukesha Cherry-Burrell Brand W60/W80 Valves Parts Lists
08/2018 95-03022 Page 79
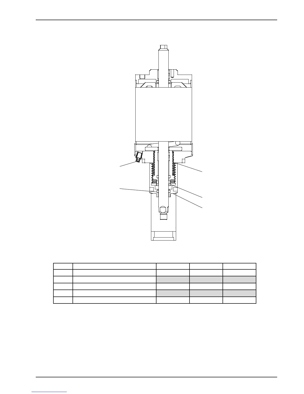
4", 5", and 6" Air-to-Lower Adjustable-Spring Actuator
VA100-661
6
20
17
13
18
Item #
4" Diamete
r
5" Diamete
r
6" Diamete
r
* 6 O-ring Nitrile N70210 N70210 N70210
13 Vent Plug 3023957+ 3023957+ 3023957+
17 Locknut, Cover 124058+ 124058+ 124058+
* 18 O-ring Nitrile N70032 N70032 N70032
20 Screw, Adjusting 124057+ 124057+ 124057+
PL5027-CH78
Part Description
* Recommended Spare Parts

Table of Contents

Related product manuals