EasyManua.ls Logo

SPX APV W+35/35 - Page 4

SPX APV W+35/35
Print Icon
To Next Page IconTo Next Page
To Next Page IconTo Next Page
To Previous Page IconTo Previous Page
To Previous Page IconTo Previous Page
Loading...
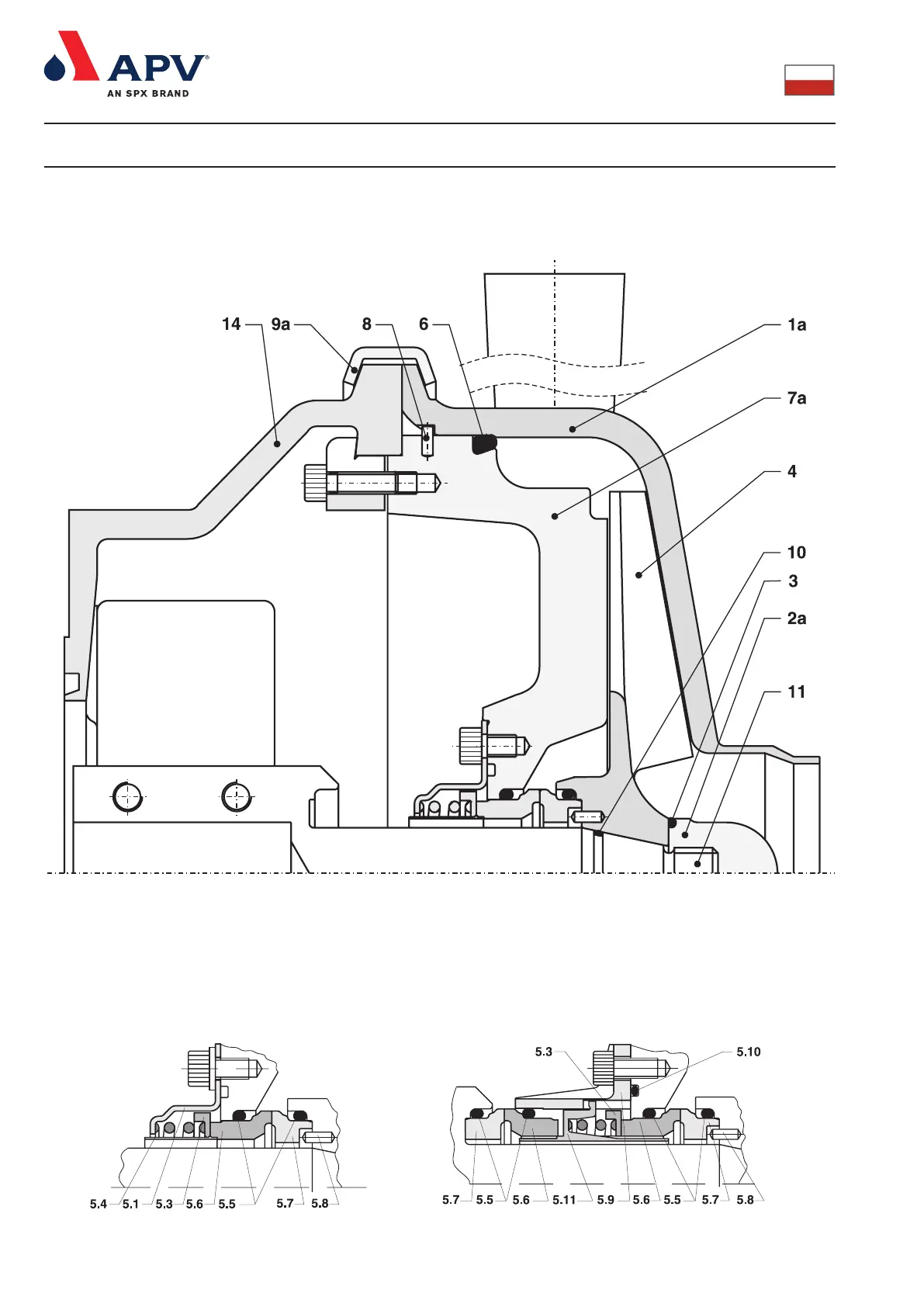
341609 ISS S 11.2004
2
381352 ISS U 11.2004 381353 ISS T 11.2004
Widok w przekrojach W+
Przekrój 1
Wrozmiar ř25 i ř35
Przekrój 2
Wrozmiar ř25 i ř35

Related product manuals