EasyManua.ls Logo

SPX APV W+35/35 - Page 56

SPX APV W+35/35
Print Icon
To Next Page IconTo Next Page
To Next Page IconTo Next Page
To Previous Page IconTo Previous Page
To Previous Page IconTo Previous Page
Loading...
48
381616 ISS Q 11.2004
381536 ISS Z 09.2005
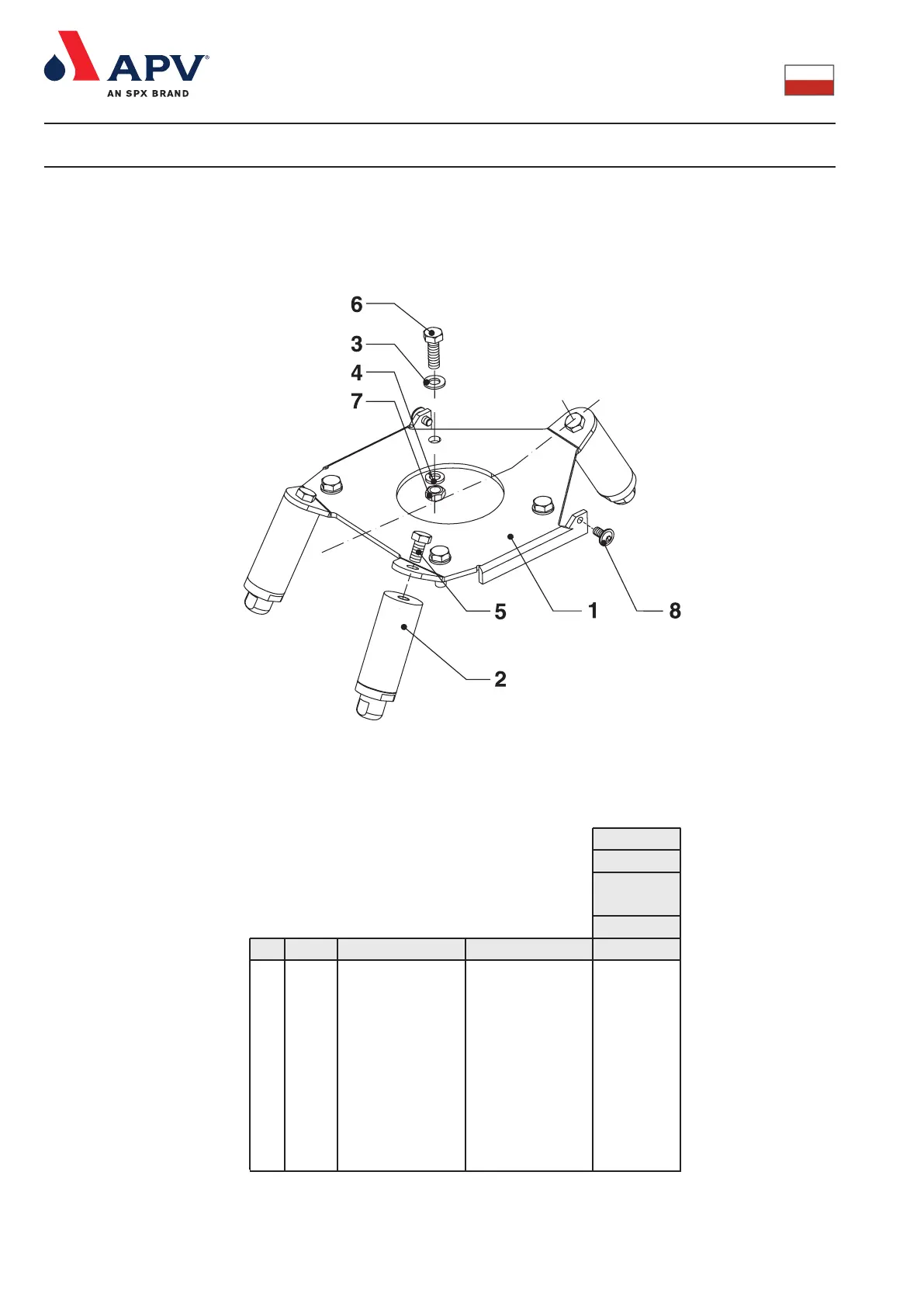
7. Ramadlasilnika/Frameformotor80(W+10/8)
Poz
Opis Description
-
1
2
3
4
5
6
7
8
Kompletna
rama
Rama
Nóżka
Podkładka
Podkładka
Wkręt
Wkręt
Nakrętka
Wkręt
Complete -
frame
Frame
Leg, complete
Washer
Washer
Screw
Screw
Nut
Screw, flange head
L808800
L273965
L809064
L701478
L771174
L700690
L700234
L700241
L700420
80
Szt/Qty
-
1
3
4
4
3
4
4
2
Silnik/Motor
Nr cz./Part No.
160
Wys. cz. śr.
Centreheight

Related product manuals