EasyManua.ls Logo

STAYER WELDING S45.10KIT - Instruzioni DI Sicurezza

STAYER WELDING S45.10KIT
Print Icon
To Next Page IconTo Next Page
To Next Page IconTo Next Page
To Previous Page IconTo Previous Page
To Previous Page IconTo Previous Page
Loading...
ITALIANO
10
10
1
2
3
4
5
6
8
97
10
11 11a 11b 11c
12c12b12a12
13 13a 13b 13c
14 15
16 17
18
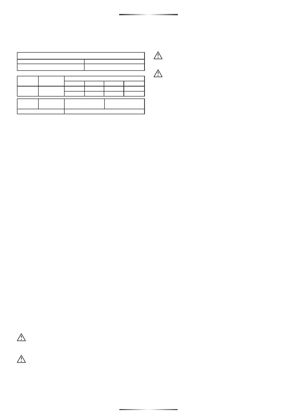
1.- Spiegazione delle marcature normative
Pos.1 Nome e indirizzo e marchio del fabbricante,
distributore o importatore.
Pos. 2 Identificazione del modello
Pos. 3 Tracciabilità del modello
Pos. 4 Simbolo della fonte di potenza della saldatura
Pos. 5 Riferimento alle norme che ottempera l'attrezzatura.
Pos. 6 Simbolo per il procedimento di saldatura
Pos. 7 Simbolo di uso in ambienti di rischio aumentato da
shock elettrico.
Pos. 8 Simbolo della corrente di saldatura
Pos. 9 Tensione del vuoto nominale
Pos. 10 Rango voltaggio e corrente di uscita nominale
Pos. 11 Fattore di marcia della fonte di potenza
Pos. 11a Fattore di marcia al 45%
Pos. 11b Fattore di marcia al 60%
Pos. 11c Fattore di marcia al 100%
Pos. 12 Corrente di taglio nominale (I2)
Pos. 12a Valore della corrente per fattore di marcia del 45%
Pos. 12b Valore della corrente per fattore di marcia del 60%
Pos. 12c Valore della corrente per fattore di marcia del 100%
Pos. 13 Tensione sotto carica (U2)
Pos. 13a Valore della tensione con fattore di marcia del 45%
Pos. 13b Valore della tensione con fattore di marcia del 60%
Pos. 13c Valore della tensione con fattore di marcia del 100%
Pos. 14 Simboli per l'alimentazione
Pos. 15 Valore nominale della tensione di alimentazione
Pos. 16 Massima corrente dell' alimentazione nominale
Pos. 17 Massima corrente di alimentazione effettiva
Pos. 18 Grado di protezione IP
2.- Instruzioni di sicurezza
LEGGERE QUESTO MANUALE DI ISTRUZIONE
Leggere attentamente le istruzioni d'uso prima di iniziare
ad usare questa saldatrice.
Usare solamente ricambi originali forniti dal fabbricante.
2.1.- Uso dei simboli
Pericolo! Indica una situazione di pericolo che, se non
si evita può causare morte o lesioni gravi. I pericoli
possibili si mostrano nei simboli o sono spiegati nel
testo.
Indica uns situazione pericolasa che, se non evitata,
puó provocare il decesso o lesioni gravi. I possibili
pericoli vengono spiegati nel testo
2.2.-Rischi della saldatura ad arco
Linstallazione, operazione, manutenzione e
riparazione dellapresente macchina devono essere
effettuate esclusivamenteda personale qualificato.
Durante il funzionamento tenere lontani gli altri e in
particolarmodo i bambini.
4LE SCOSSE ELETTRICHE possonouccidere.
Toccare parti sotto tensione può causare scossemortali o gravi
ustioni. L’elettrodo e il circuito operati-vo sono sotto tensione ogni
volta che il generatore èattivato. Anche il circuito di erogazione e i
circuiti in-terni della macchina sono sotto tensione quando la
corrente è attiva-ta. Nella saldatura a filo semiautomatica o
automatica la bobina delfilo, la sede del rullo di guida per il filo e
tutte le parti di metallo che toc-cano il filo di saldatura sono sotto
tensione. L’installazione o la messaa terra incorrette della
macchina costituiscono un rischio.
Non toccare parti elettriche sotto tensione.
Indossare guanti isolanti asciutti e privi di fori e protezione per il
corpo.
Isolarsi dal piano di lavoro e da terra usando tappetini isolanti
asciutti o coperture di dimensioni sufficienti a evitare qualsiasi
con-tatto fisico con il piano di lavoro o con il pavimento.
Non utilizzare prese a c.a. in zone umide se gli spazi sono ristretti
o se vi e rischio di cadute.
Utilizzare prese a c.a. solo se indispensabile.
Se occorre utilizzare prese a c.a. , usare il commando a
distanza(se previsto).
Alcune precauzioni addizionali sono richieste quando l'ambiente
di lavoro si presenta particolarmente umido oppure si vestono
indumenti umidi o si stà in posizioni scomode o quando c'è il
pericolo di venire a contatto con il pezzo da lavorare.
Disinserire la corrente o fermare la macchina prima di installare
o effettuare operazioni di riparazione sull’attrezzatura.
Assicurarsiche il dispositivo di arresto automatico della corrente
sia installatoin conformità all’ OSHA 29 CFR 1910.147 (vedi
Norme di Sicurez-za).
Installare e mettere a terra l’attrezzatura rispettando quando
con-tenuto nel Manuale del Proprietario e secondo codici
nazionali,statali e locali.
Controllare sempre la messa a terra della rete controllare e
assi-curarsi che il filo di messa a terra del cavo di rete sia
collegato inmodo appropriato con il terminale di terra
dell’interruttore di circuitoo che la spina sia collegata ad una
presa messa a terra in modoappropriato.
Nel fare qualsiasi collegamento di rete attaccare per primo il con-
duttore di messa a terra controllare sempre i collegamenti.
Tenga i cavi secchi, senza olio o grasso e lontani da metalli caldi
o scintille.
Controllare frequentemente il cavo della corrente per individuare
eventuali danni o cavi scoperti sostituire immediatamente
qualsiasi cavo danneggiato i cavi scoperti possono uccidere.
Spegnere tutte le attrezzature quando non in uso.
Non usare cavi scoperti, danneggiati, di misura inferiore al
normale o non giuntati in modo appropriato.

Related product manuals