EasyManua.ls Logo

Steinberg MIDEX-8 - Page 12

Steinberg MIDEX-8
42 pages
Print Icon
To Next Page IconTo Next Page
To Next Page IconTo Next Page
To Previous Page IconTo Previous Page
To Previous Page IconTo Previous Page
Loading...
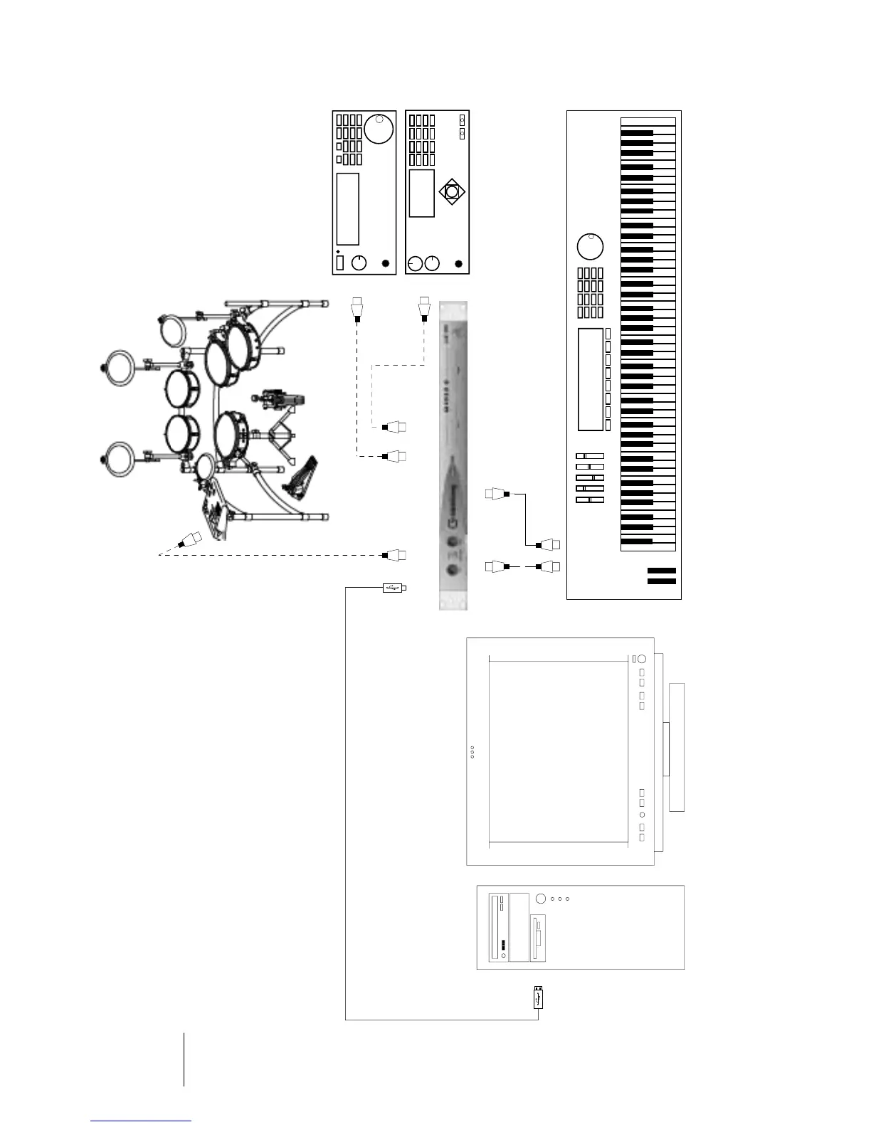
MIDEX-8
English – 12
USB
USB
Out In
In
In
Out 2 Out 3
Out 1
In 1
In 2
Out

Related product manuals