EasyManua.ls Logo

Stihl MS 211 - Page 50

Stihl MS 211
102 pages
Print Icon
To Next Page IconTo Next Page
To Next Page IconTo Next Page
To Previous Page IconTo Previous Page
To Previous Page IconTo Previous Page
Loading...
49MS 171, MS 181, MS 211
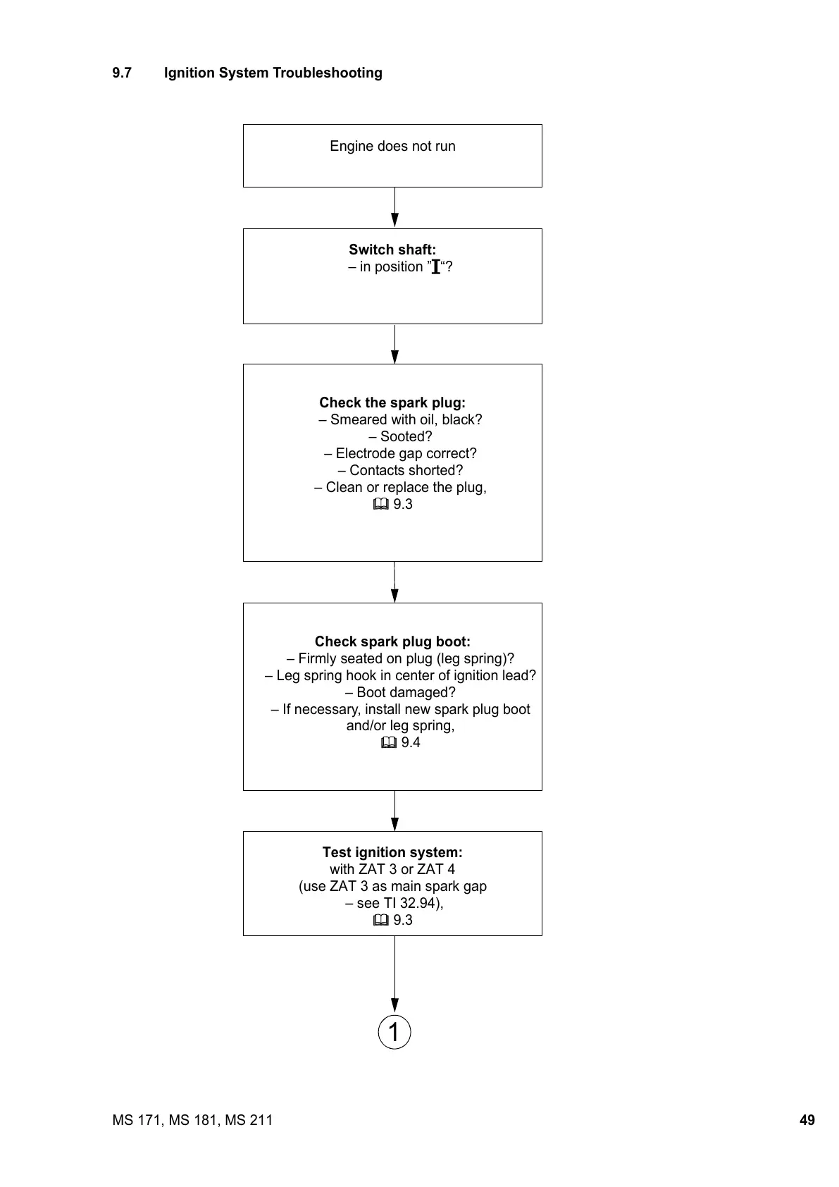
9.7 Ignition System Troubleshooting
Engine does not run
Switch shaft:
– in position#“?
Check the spark plug:
– Smeared with oil, black?
– Sooted?
– Electrode gap correct?
– Contacts shorted?
– Clean or replace the plug,
b 9.3
Check spark plug boot:
– Firmly seated on plug (leg spring)?
Leg spring hook in center of ignition lead?
– Boot damaged?
– If necessary, install new spark plug boot
and/or leg spring,
b 9.4
Test ignition system:
with ZAT 3 or ZAT 4
(use ZAT 3 as main spark gap
– see TI 32.94),
b 9.3
1
All manuals and user guides at all-guides.com

Other manuals for Stihl MS 211

Related product manuals