EasyManua.ls Logo

Stihl RM 248.2 - Gjøre Gressklipperen Klar Til Bruk; Sette Sammen Gressklipperen

Stihl RM 248.2
Print Icon
To Next Page IconTo Next Page
To Next Page IconTo Next Page
To Previous Page IconTo Previous Page
To Previous Page IconTo Previous Page
Loading...
Trekk ut tennpluggstøpselet.
Etter kjøring av motoren, kan lyddemperen og
motoren være svært varme. Vær forsiktig så
du ikke brenner deg på dem.
Vent til lyddemperen og motoren er avkjølt.
Sterke rengjøringsmidler samt rengjøring med
vannstråler eller spisse gjenstander kan føre til
skader på gressklipperen eller kniven. Hvis
gressklipperen eller kniven ikke blir riktig ren‐
gjort, kan ikke komponentene lenger fungere
riktig, og sikkerhetsanordningene settes ut av
drift. Det kan oppstå alvorlige personskader.
Rengjør gressklipperen og kniven slik det
beskrives i denne bruksanvisningen,
15.2.
Hvis gressklipperen eller kniven ikke blir riktig
vedlikeholdt eller reparert i tråd med denne
bruksanvisningen, kan ikke komponentene
lenger fungere riktig, og sikkerhetsanordnin‐
gene settes ut av drift. Det er fare for alvorlige
eller livstruende personskader.
Skift ut slitte eller skadede deler.
Rengjør eller reparer gressklipperen slik det
beskrives i denne bruksanvisningen.
Vedlikehold kniven slik det beskrives i
denne bruksanvisningen.
Brukeren risikerer å skjære seg på skarpe
skjærekanter når kniven rengjøres, vedlikehol‐
des eller repareres. Det er fare for personska‐
der.
Bruk vernehansker av motstandsdyktig
materiale.
Kniven kan bli svært varm under sliping. Bru‐
keren risikerer å brenne seg.
Vent til kniven er avkjølt.
Bruk vernehansker av motstandsdyktig
materiale.
5 Gjøre gressklipperen klar til
bruk
5.1 Gjøre gressklipperen klar til
bruk
Utfør følgende trinn før hver bruk:
Fjern emballasjen og transportsikringene.
Kontroller at følgende komponenter er i sikker
stand:
Gressklipper, 4.6.1.
Kniv, 4.6.2.
Rengjør gressklipperen, 15.
Kontroller kniven, 10.2.
Monter styret, 6.1.
Fyll på motorolje, 6.3.
Fell opp styret, 8.1.
Fyll på drivstoff på gressklipperen, 7.
Hvis det klippes og det klippede gresset skal
fanges opp med oppsamleren: Fest oppsamle‐
ren, 6.2.2.
Hvis det klippes og det klippede gresset skal
kastes ut bak: Ta av oppsamleren,
6.2.3.
Still inn klippehøyden, 11.2.
Kontroller betjeningselementene, 10.1.
Hvis trinnene ikke kan gjennomføres: Ikke
bruk gressklipperen. Kontakt en STIHL for‐
handler.
6 Sette sammen gressklippe‐
ren
6.1 Montere styret
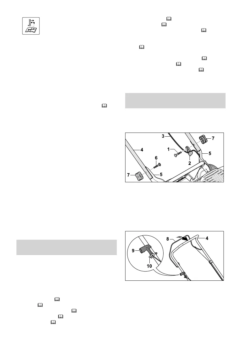
Slå av motoren.
Plasser gressklipperen på et jevnt underlag.
Stikk skruen (1) gjennom snorføringen (2).
Hekt vaieren (3) i snorføringen (2).
Hold styret (4) mot holderne (5) slik at hullene
flukter.
Skyv skruene (1 og 6) innenfra og ut gjennom
hullene.
Skru på stjernemutterne (7) og stram dem
godt.
Trekk ut tennpluggstøpselet.
Trykk koblingsbøylen for klipping (8) mot styret
(4) og hold den der.
Trekk starthåndtaket (9) sakte i retning snorfø‐
ringen (10).
Hekt starthåndtaket (9) i snorføringen (10).
Slipp opp koblingsbøylen for klipping (8).
Sett inn igjen tennpluggstøpselet.
norsk 5 Gjøre gressklipperen klar til bruk
124 0478-111-9850-A

Table of Contents

Related product manuals