EasyManua.ls Logo

Stihl RM 248.2 - Ensamblar el Cortacésped; Preparar el Cortacésped para el Trabajo

Stihl RM 248.2
Print Icon
To Next Page IconTo Next Page
To Next Page IconTo Next Page
To Previous Page IconTo Previous Page
To Previous Page IconTo Previous Page
Loading...
Esperar hasta que se haya enfriado el
silenciador y el motor.
Los limpiadores corrosivos, la limpieza con
chorro de agua u objetos puntiagudos pueden
dañar el cortacésped o la cuchilla. Si el corta‐
césped o la cuchilla no se limpian bien, es
posible que ciertos componentes ya no funcio‐
nen correctamente y se desactiven dispositi‐
vos de seguridad. Pueden producirse lesiones
graves.
Limpiar el cortacésped y la cuchilla de la
manera descrita en este manual de instruc‐
ciones; 15.2.
Si el cortacésped o la cuchilla no se revisan o
reparan de la manera descrita en este manual
de instrucciones, es posible que ciertos com‐
ponentes ya no funcionen correctamente y se
desactiven dispositivos de seguridad. Pueden
producirse lesiones graves o mortales.
Cambiar las piezas desgastadas o daña‐
das.
Revisar o reparar el cortacésped de la
manera descrita en este manual de instruc‐
ciones.
Revisar la cuchilla de la manera descrita en
este manual de instrucciones.
Durante la limpieza, el mantenimiento o la
reparación de la cuchilla, el usuario podría
cortarse con los filos. El usuario puede resul‐
tar lesionado.
Llevar guantes protectores de material
resistente.
La cuchilla puede calentarse mucho cuando
se afila. El usuario podría quemarse.
Esperar hasta que la cuchilla se haya
enfriado.
Llevar guantes protectores de material
resistente.
5 Preparar el cortacésped
para el trabajo
5.1 Preparar el cortacésped para el
trabajo
Antes de comenzar cualquier trabajo deben rea‐
lizarse los siguientes pasos:
Retirar el material de embalaje y los seguros
de transporte.
Asegurarse de que los siguientes componen‐
tes se encuentren en un estado seguro:
Cortacésped; 4.6.1.
Cuchilla; 4.6.2.
Limpiar el cortacésped; 15.
Comprobar la cuchilla; 10.2.
Montar el manillar; 6.1.
Cargar aceite de motor; 6.3.
Desplegar el manillar; 8.1.
Repostar el cortacésped; 7
Si se corta el césped y la hierba cortada ha de
ser recogida en el recogedor: enganchar el
recogedor de hierba; 6.2.2.
Si se corta el césped y la hierba cortada ha de
ser expulsada hacia atrás: desenganchar el
recogedor de hierba;
6.2.3.
Ajustar la altura de corte;
11.2.
Comprobar los mandos; 10.1.
Si fuera imposible realizar los pasos: no utili‐
zar el cortacésped y consultar a un distribuidor
especializado STIHL.
6 Ensamblar el cortacésped
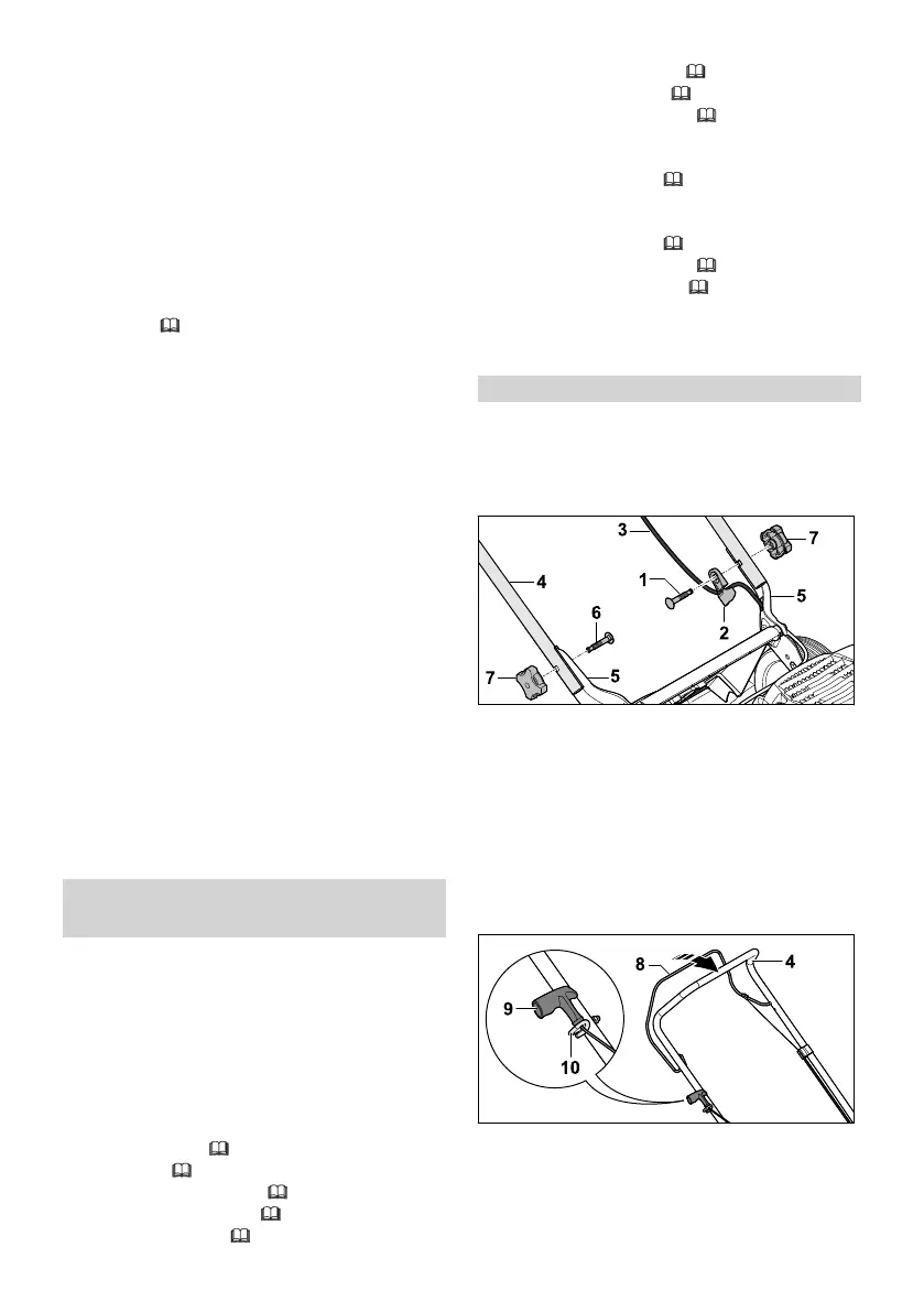
6.1 Montar el manillar
Apagar el motor.
Colocar el cortacésped sobre una superficie
llana.
Introducir el tornillo (1) por la guía de
cable (2).
Enganchar el cable de accionamiento (3) en
su guía (2).
Colocar el manillar (4) en los soportes (5) de
tal manera que los orificios queden alineados.
Meter los tornillos (1 y 6) de dentro hacia fuera
a través de los orificios.
Enroscar y apretar firmemente las tuercas con
mango de estrella (7).
Retirar la pipa de bujía.
Presionar el estribo de mando para corte de
césped (8) hacia el manillar (4) y mantenerlo
presionado.
español 5 Preparar el cortacésped para el trabajo
42 0478-111-9850-A

Table of Contents

Related product manuals