EasyManua.ls Logo

Stihl RM 248.2 - Rasenmäher Einsatzbereit machen; Rasenmäher Zusammenbauen

Stihl RM 248.2
Print Icon
To Next Page IconTo Next Page
To Next Page IconTo Next Page
To Previous Page IconTo Previous Page
To Previous Page IconTo Previous Page
Loading...
Warten, bis der Schalldämpfer und der
Motor abgekühlt sind.
Scharfe Reinigungsmittel, das Reinigen mit
einem Wasserstrahl oder spitzen Gegenstän‐
den können den Rasenmäher oder das Mes‐
ser beschädigen. Falls der Rasenmäher oder
das Messer nicht richtig gereinigt werden, kön‐
nen Bauteile nicht mehr richtig funktionieren
und Sicherheitseinrichtungen außer Kraft
gesetzt werden. Personen können schwer ver‐
letzt werden.
Rasenmäher und Messer so reinigen, wie
es in dieser Gebrauchsanleitung beschrie‐
ben ist, 15.2.
Falls der Rasenmäher oder das Messer nicht
so gewartet oder repariert wird, wie es in die‐
ser Gebrauchsanleitung beschrieben ist, kön‐
nen Bauteile nicht mehr richtig funktionieren
und Sicherheitseinrichtungen außer Kraft
gesetzt werden. Personen können schwer ver‐
letzt oder getötet werden.
Abgenutzte oder beschädigte Teile austau‐
schen.
Rasenmäher so warten oder reparieren,
wie es in dieser Gebrauchsanleitung
beschrieben ist.
Messer so warten, wie es in dieser
Gebrauchsanleitung beschrieben ist.
Während der Reinigung, Wartung oder Repa‐
ratur des Messers kann der Benutzer sich an
scharfen Schneidkanten schneiden. Der
Benutzer kann verletzt werden.
Schutzhandschuhe aus widerstandsfähi‐
gem Material tragen.
Während des Schärfens kann das Messer
heiß werden. Der Benutzer kann sich verbren‐
nen.
Warten, bis das Messer abgekühlt ist.
Schutzhandschuhe aus widerstandsfähi‐
gem Material tragen.
5 Rasenmäher einsatzbereit
machen
5.1 Rasenmäher einsatzbereit
machen
Vor jedem Arbeitsbeginn müssen folgende
Schritte durchgeführt werden:
Verpackungsmaterial und Transportsicherun‐
gen entfernen.
Sicherstellen, dass sich folgende Bauteile im
sicherheitsgerechten Zustand befinden:
Rasenmäher, 4.6.1.
Messer, 4.6.2.
Rasenmäher reinigen, 15.
Messer prüfen, 10.2.
Lenker anbauen, 6.1.
Motoröl einfüllen, 6.3.
Lenker aufklappen, 8.1.
Rasenmäher betanken, 7.
Falls gemäht wird und das gemähte Gras im
Grasfangkorb aufgefangen werden soll: Gras‐
fangkorb einhängen, 6.2.2.
Falls gemäht wird und das gemähte Gras hin‐
ten ausgeworfen werden soll: Grasfangkorb
aushängen,
6.2.3.
Schnitthöhe einstellen,
11.2.
Bedienungselemente prüfen, 10.1.
Falls die Schritte nicht durchgeführt werden
können: Rasenmäher nicht verwenden und
einen STIHL Fachhändler aufsuchen.
6 Rasenmäher zusammen‐
bauen
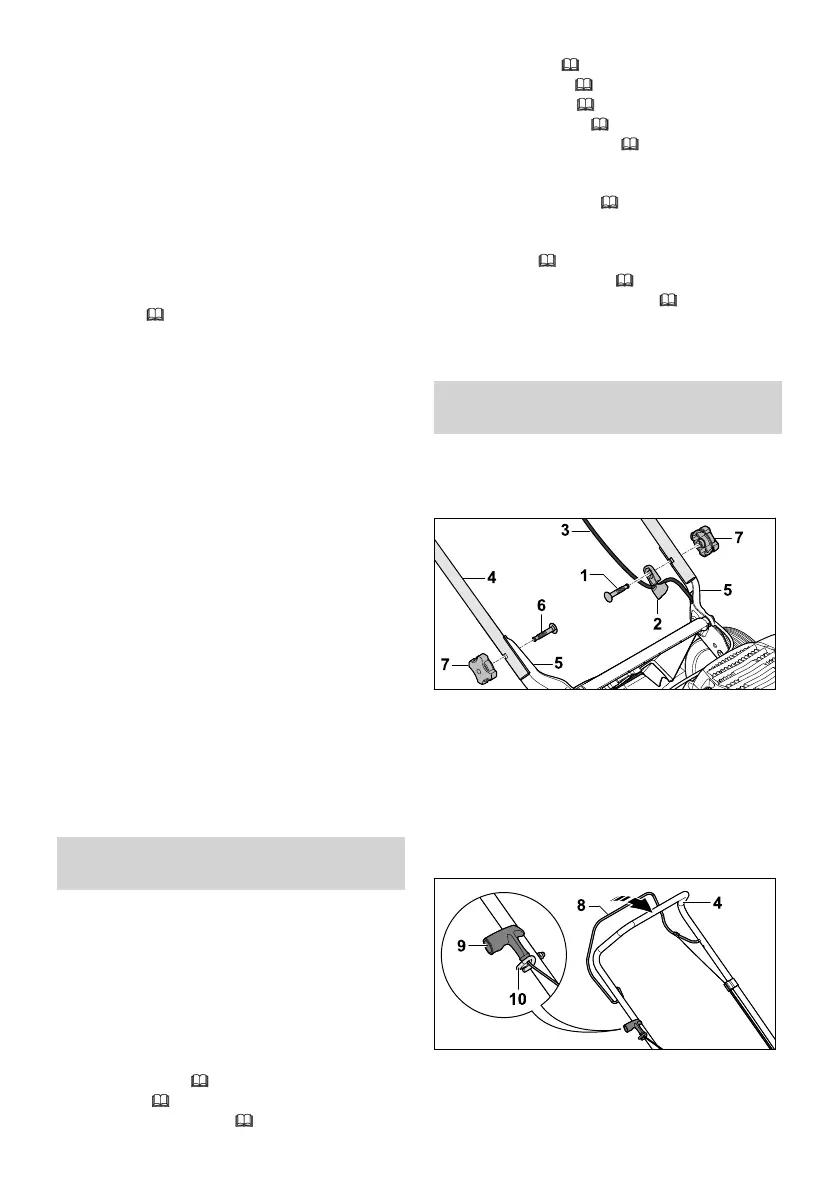
6.1 Lenker anbauen
Motor abstellen.
Rasenmäher auf eine ebene Fläche stellen.
Schraube (1) durch die Seilführung (2) ste‐
cken.
Seilzug (3) in die Seilführung (2) einhängen.
Lenker (4) so an die Halterungen (5) halten,
dass die Bohrungen fluchten.
Schrauben (1 und 6) von innen nach außen
durch die Bohrungen schieben.
Sterngriffmuttern (7) aufdrehen und fest anzie‐
hen.
Zündkerzenstecker abziehen.
Schaltbügel für Mähbetrieb (8) zum Lenker (4)
drücken und gedrückt halten.
5 Rasenmäher einsatzbereit machen deutsch
0478-111-9850-A 9

Table of Contents

Related product manuals