EasyManua.ls Logo

Stihl RT 5112 Z - Brake Pedal; Parking Brake

Stihl RT 5112 Z
294 pages
To Next Page IconTo Next Page
To Next Page IconTo Next Page
To Previous Page IconTo Previous Page
To Previous Page IconTo Previous Page
Loading...
0478 192 9809 A - EN
24
Stopping:
Take foot off the drive pedal (self-
propulsion) (1).
Reducing the driving speed:
Reduce pressure on the drive
pedal (1).
Increasing driving speed:
Press down drive pedal (1).
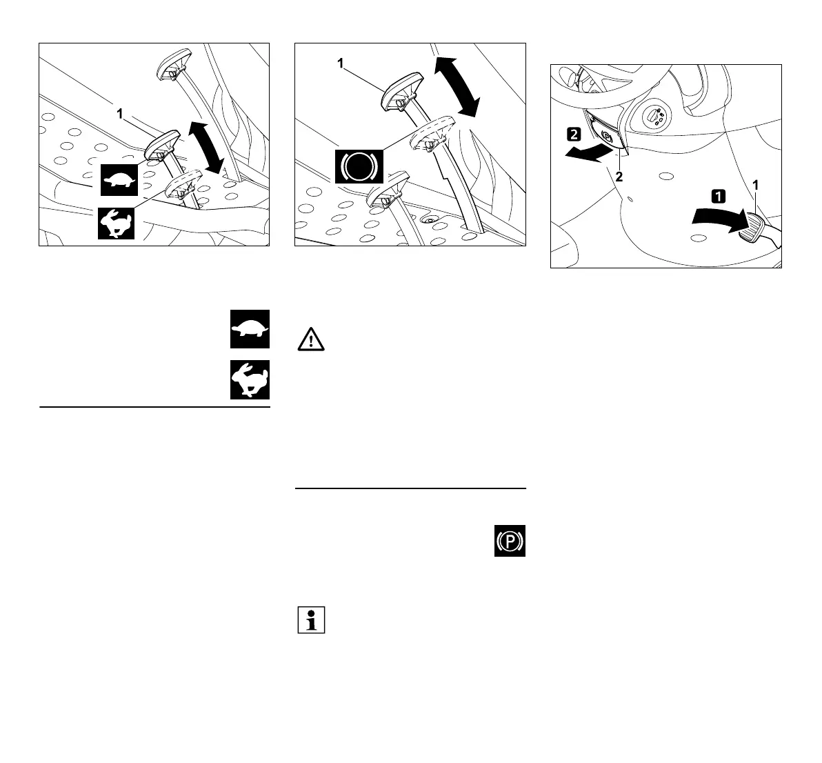
8.13 Brake pedal
The machine can be braked when driving
and can be blocked at a standstill via the
brake pedal.
Press the brake pedal (1).
The more firmly the brake pedal (1) is
pressed, the more the rear wheels are
braked.
8.14 Parking brake
The rear wheels of the machine
are blocked by the engaged
parking brake. This prevents the
ride-on mower from being set in motion
inadvertently (e.g. on slopes, etc.).
Engaging the parking brake:
Press the brake pedal (1) down to the stop
with the foot and hold. Pull the parking
brake lever (2) upwards.
Release the brake pedal again.
The parking brake is activated if the
brake pedal remains in the pressed
position.
The "parking brake engaged" symbol
appears on the display of the models
RT 6112 C, RT 6112 ZL and
RT 6127 ZL when the parking brake is
engaged. (Ö 10.5)
Release the parking brake lever. This
swings downwards. The rear wheels
are blocked.
Warning!
Never operate the machine with a
defective brake.
Always have a defective brake
repaired or adjusted by a specialist
dealer.
STIHL recommends STIHL
specialist dealers.
Never try to service the brakes
yourself.
Note
Always check the function of the
brakes before engaging the parking
brake.

Table of Contents

Related product manuals