EasyManua.ls Logo

STOVES SEB900MFSe - Touch Programmer Guide

STOVES SEB900MFSe
40 pages
Print Icon
To Next Page IconTo Next Page
To Next Page IconTo Next Page
To Previous Page IconTo Previous Page
To Previous Page IconTo Previous Page
Loading...
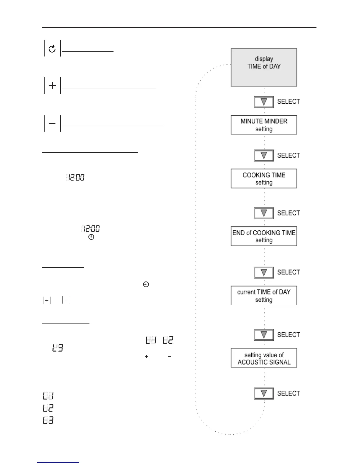
USING THE TOUCH PROGRAMMER
Select a function
Plus - increase time or volume
Minus - decrease time or volume
Power ON/initial operation
After connecting the appliance to the
mains, the display shows the default TIME
of DAY ashing.
In the event of a power failure, the oven &
grill elements will not automatically switch
on when power is resumed; thus, on re-
sumption of power, touch any of the touch
control symbols & the display will show the
default time permanently. The colon
& the symbol continuetoash&the
current TIME of DAY can now be set.
Time of Day
Select the TIME of DAY mode by using
the FUNCTION symbol until the symbol
ashes;settheTIMEofDAYbyusingthe
or symbols.
Volume Level
Select the volume level by using the FUNC-
TION symbol until the symbols ,
or appear on the display. The signal
volume can be set using the or
symbols; the acoustic signal sounds in the
selected volume.
ACOUSTIC SIGNAL volume:
= Low
= Medium
= Loud

Related product manuals