EasyManua.ls Logo

STOVES SEB900MFSe - Using the Appliance

STOVES SEB900MFSe
40 pages
Print Icon
To Next Page IconTo Next Page
To Next Page IconTo Next Page
To Previous Page IconTo Previous Page
To Previous Page IconTo Previous Page
Loading...
USING THE TOP OVEN GRILL - ELECTRIC
Caution: Accessible parts may be hot
when the grill is used, young children
should be kept away.
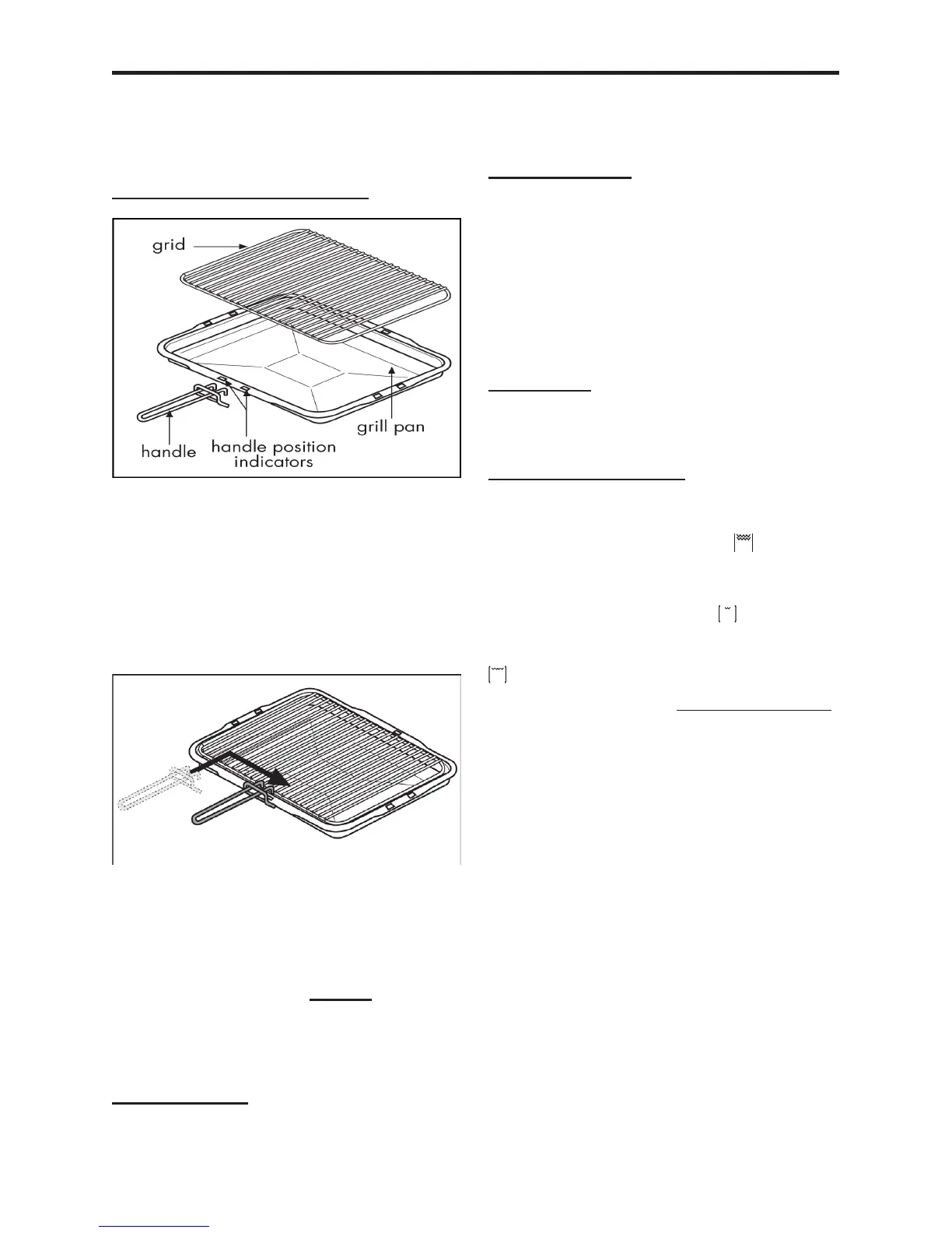
Detachable grill pan handle
Place the handle over the edge of the grill
pan, at the narrow side edges.
Slide the handle to the centre, and locate
between the handle position indicators.
The handle should be removed from the
pan during grilling, to prevent overheat-
ing.
The handle is designed for removing /
inserting the grill pan under the grill when
grilling.
If cleaning the grill pan when it is hot, use
oven gloves to move it. Do not use the
handle to pour hot fats from the grill pan.
Food for grilling should be positioned
centrally on the trivet.
Aluminium foil
Using aluminium foil to cover the grill pan,
or putting items wrapped in foil under the
grillcancreatearehazard,andthehigh
reectivitycandamagethegrillelement.
The cooling fan
When the grill is switched on, you will
hear the cooling fan come on - this keeps
the fascia and control knobs of the ap-
pliance cool during grilling. The fan may
continue to operate for a period after the
grill control has been switched off.
The cooker has a grill in both the top oven
and main oven.
Preheating
For best results, preheat the grill for
3 - 5 minutes.
To switch on the grill
Open the oven / grill door.
Turn the top oven control knob anti clock-
wise towards the grill symbol to the
required setting from 1-9.
TherstsettingisEcogrill . To switch
to the full grill setting touch the centre of
the control knob and the display will show
for full grill.
Important: The door must be kept open
when the grill is used.
To switch off, return the control knob to
the “off” position.
For grilling smaller quantities of food the
centre (economy) grill can be utilised.
For grilling larger quantities of food, the
full grill can be utilised.
When using the grill in the top oven, the
speed of grilling can be controlled by
adjusting the grill setting or by selecting a
higher or lower shelf position. For toast-
ing, and for grilling foods such as bacon,
sausages or steaks, use a higher shelf po-
sition. For thicker foods such as chops or
chicken pieces, use the low shelf position.

Related product manuals