EasyManua.ls Logo

STRIKEMASTER Lithium 24V - Assembly; Parts of the Auger

STRIKEMASTER Lithium 24V
16 pages
Print Icon
To Next Page IconTo Next Page
To Next Page IconTo Next Page
To Previous Page IconTo Previous Page
To Previous Page IconTo Previous Page
Loading...
10
ASSEMBLY
PACKING LIST
1 Powerhead
1 Collar Bolt
2 Hex Wrenches
1 24v 4Ah Battery (Model# LTV-B/LTV-BCA)
1 24v Battery Charging Base (Model# LTV-CB/LTV-CBCA)
1 6'" or 8" Lite-Flite Lazer
TM
drill unit
1 Blade Guard
UNPACKING
Carefully remove the product and any accessories from the box. Make sure that all items listed in the packing list
are included.
Inspect the product carefully to make sure no breakage or damage occurred during shipping.
Do not discard the packing material until you have carefully inspected and satisfactorily operated the product.
If any parts are damaged or missing, please call 1-877-572-7278 (Monday - Friday / 8am - 4:30pm CST) for
assistance.
W A R N I N G
READ ALL SAFETY WARNINGS AND ALL INSTRUCTIONS.
Do not use this product if it is not completely assembled or if any parts appear to be missing or damaged. Use of a
product that is not properly and completely assembled could result in serious personal injury.
W A R N I N G
READ ALL SAFETY WARNINGS AND ALL INSTRUCTIONS.
If any parts are damaged or missing do not operate this product until the parts are replaced. Use of this product
with damaged or missing parts could result in serious personal injury.
W A R N I N G
READ ALL SAFETY WARNINGS AND ALL INSTRUCTIONS.
Do not attempt to modify this product. Any such alteration or modification is misuse and could result in a
hazardous condition leading to possible serious personal injury.
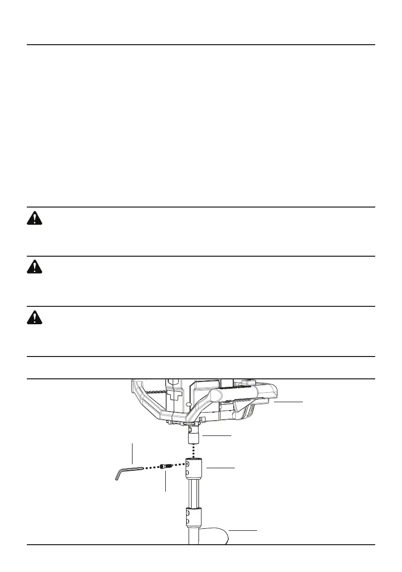
KNOW THE PARTS OF THE AUGER
POWERHEAD
HEX WRENCH
COLLAR BOLT
DRIVE SHAFT
COLLAR
LITE-FLITE LAZER
TM
DRILL UNIT
LITE-FLITE LAZER
TM
DRILL UNIT

Related product manuals