EasyManua.ls Logo

Stuart Turner Showermate Series - Page 4

Stuart Turner Showermate Series
21 pages
Print Icon
To Next Page IconTo Next Page
To Next Page IconTo Next Page
To Previous Page IconTo Previous Page
To Previous Page IconTo Previous Page
Loading...
- 4 -
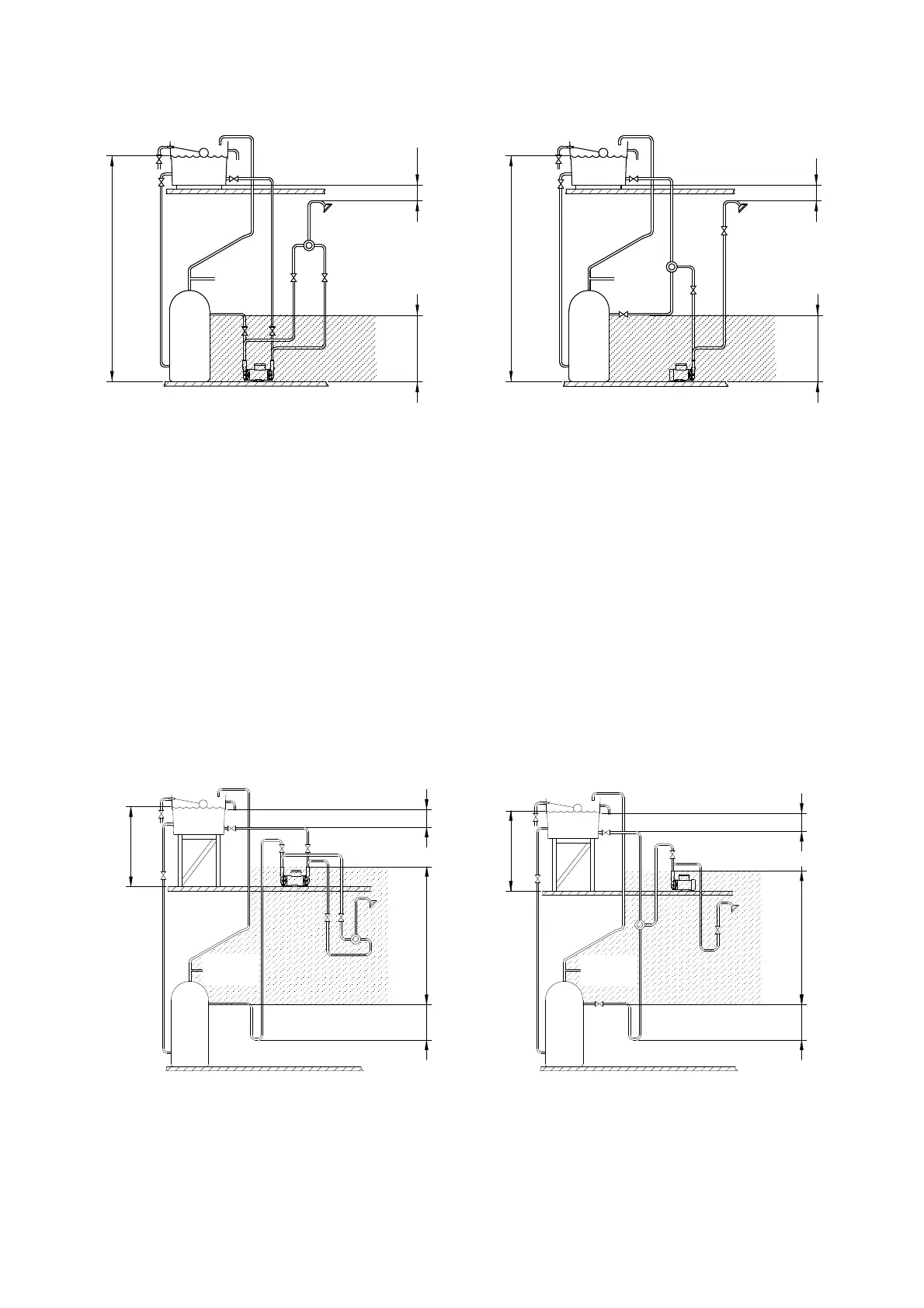
Least Preferred Pump Location (shaded area). Pump located above the hot cylinder
can increase the risk of air locks.
Note: If installed in loft there must be a height of 200 mm from water surface to
highest point of hot or cold inlet or outlet pipework at all times to prevent air locking.
Preferred Pump Location (shaded area). Pump at a level below draw
off tapping in cylinder.
If it is not possible to locate the pump in the preferred area due to site limitations and it
is necessary to position the unit in the loft, or in a position above the secondary tapping
that feeds the pump, then there is an increased risk of air locks. This risk must be
eliminated.
The following measures are suggestions that may overcome the problem:
1) A "U" bend or downward loop in the supply pipe to the pump of 350 mm depth before
rising to the pump, should ensure the cylinder vents its air up the expansion pipe not
up the pump feed (Fig. 7 for Twins and Fig. 8 for Singles).
2) An alternative to the above would be the installation of an automatic air vent situated
at the top of a vertical pipe run, directly connected to the pump discharge. This will
ensure any air collecting in the pump is automatically vented.
Max. inlet head 13 m
Min. inlet head 0.5 m
hot water
services
least preferred area
200 mm min
Fig. 7 (Twin Pump)
350 mm
min
Max. inlet head 13 m
Min. inlet head 0.5 m
hot water
services
200 mm min
least preferred area
350 mm
min
Fig. 8 (Single Pump)
Max. inlet head 13 m
Min. inlet head 0.5 m
hot water
services
preferred
area
100 mm min
Fig. 5 (Twin Pumps)
Max. inlet head 13 m
Min. inlet head 0.5 m
hot water
services
preferred
area
100 mm min
Fig. 6 (Single Pump)

Related product manuals