EasyManua.ls Logo

Sub-Zero 695-2 - Page 111

Sub-Zero 695-2
188 pages
Print Icon
To Next Page IconTo Next Page
To Next Page IconTo Next Page
To Previous Page IconTo Previous Page
To Previous Page IconTo Previous Page
Loading...
7-41
Built-In
Built-In
(600-
(600-
2
2
)
)
Series
Series
Component Access / Removal
#3758407 - Revision B - August, 2006
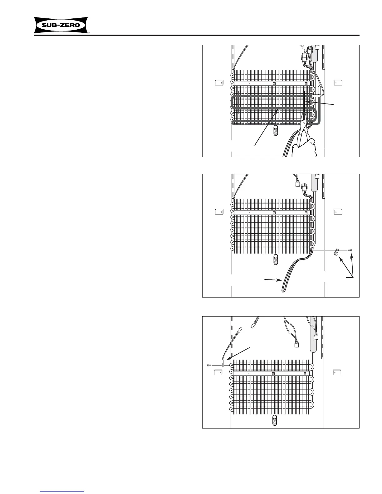
Defrost Heater (632-2, 642-2, 661-2)
The defrost heater is inserted into channels in the evap-
orator fins. C-shaped heater clips hook from one evap-
orator tube to another, over heater, to hold it in place.
To remove the defrost heater, remove the freezer
shelves, ice bucket, duct/shelf assembly and evaporator
cover first, then (See Figures 7-104):
1. Disconnect heater wire leads from wire harness.
2. With needle-nose pliers, or similar tool, detach
heater clips by pulling clips away from evaporator.
3. Gently pull defrost heater from fins of evaporator.
Freezer Drain Tube Heater (632-2, 642-2, 661-2)
The drain tube heater runs down the right side of the
evaporator. A clamp at the bottom right of the evapora-
tor holds the heater in place. It is then routed to the
drain tube at bottom center rear of evaporator cover.
To remove the drain tube heater, remove the freezer
shelves, ice bucket, duct/shelf assembly and evaporator
cover first, then (See Figures 7-105):
1. Disconnect heater wire leads from wire harness.
2. Extract screws which secure evaporator to rear wall
of freezer compartment.
3. Rotate evaporator to left to gain access to clamp
holding heater at bottom right rear of evaporator.
4. Extract screw holding clamp and pull heater out.
Freezer Evaporator Thermistor (632-2, 642-2, 661-2)
The freezer evaporator thermistor is attached at the top
of the left evaporator bracket with a screw.
To remove the evaporator thermistor, remove the freez-
er shelves, ice bucket, duct/shelf assembly and evapo-
rator cover first, then (See Figures 7-106):
1. Disconnect thermistor electrical leads.
NOTE: On newer models the thermistor is hard-
wired to the control board, so it will be necessary to
cut the thermistor wires to remove it.
2. Extract screws which secure evaporator to rear wall
of freezer compartment.
3. Pull bottom of evaporator up while rotating to the
right to gain access to thermistor mounting screw.
4. Extract screw securing thermistor.
Figure 7-104. Defrost Heater
Figure 7-105. Drain Tube Heater
Figure 7-106. Evaporator Thermistor
Defrost Heater
Heater
Clip
Drain Tube Heater
Clamp & Screw
Thermistor

Table of Contents

Other manuals for Sub-Zero 695-2

Related product manuals