EasyManua.ls Logo

Summit CR2110 - Page 11

Summit CR2110
16 pages
Print Icon
To Next Page IconTo Next Page
To Next Page IconTo Next Page
To Previous Page IconTo Previous Page
To Previous Page IconTo Previous Page
Loading...
10
make a good seal once the frame is centered. The frame should be as flush
with the countertop as possible.
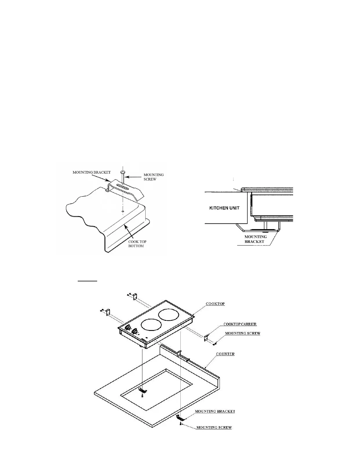
Attach the mounting brackets supplied with the SUMMIT cooktop (refer to
Figs. 6-7-8) to the inside bottom surface of the cutout. The brackets are to
be mounted on opposing sides. Center the bracket in the opening, flush
with the countertop and secure with long self-tapping screws (included).
Position the cooktop in the cutout opening and press firmly on all sides to
seal the frame into the bedding compound. Secure the cooktop to the
brackets from underneath with the small sheet metal screws that are
supplied. There are two mounting brackets for the double glass ceramic
cooktops. These brackets are designed to tighten the cooktop and then
seal it onto the counter to avoid any movement of the cooktop and to
provide good insulation.
NOTE: BE CAREFUL NOT TO OVERTIGHTEN THE SCREWS.
Fig. 7
Fig. 6
SELF-ADHESIVE
SEALANT
Fig. 8

Related product manuals