EasyManua.ls Logo

Sylvania SDVD7049 - Location of Controls; Remote Control Buttons

Sylvania SDVD7049
43 pages
Print Icon
To Next Page IconTo Next Page
To Next Page IconTo Next Page
To Previous Page IconTo Previous Page
To Previous Page IconTo Previous Page
Loading...
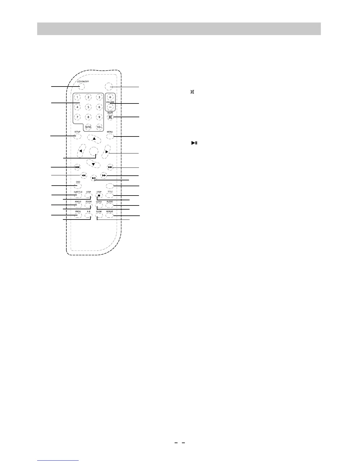
LOCATION OF CONTROLS
REMOTE CONTROL
1
2
3
4
5
6
7
8
9
10
11
12
13
14
15
POWER
16
17
18
19
20
21
22
23
24
25
26
27
28
1. POWER Button
2. VOLUME +/– Buttons
4. MENU Button
12.
15. SLOW Button
16. LCD ON/OFF Button
17. Numeric Buttons
18. SETUP Button
21. OSD (On Screen Display Button
22. SUBTITLE Button
23. ANGLE Button
24. PROG (Program Button
26. STEP Button
27. ZOOM Button
28. A-B Repeat Button
9.
TITLE Button
8.
N/P Button
10.
AUDIO Button
REPEAT Button
13.
11.
(
14.
GOTO Button
OK
25. Button
3. MUTE Button
5. Direction Buttons
( Play/Pause Button
6723 %XWWRQ

Ŷ
OK
8
ŻŻ
7.
ǿŻŻ
( Skip Forward Button

6.
( Fast Searching Forward Button

ǿŻŻ
ŻŻ
19.
( Skip Backward Button

20.
( Fast Searching Backward Button


N/P

Other manuals for Sylvania SDVD7049

Related product manuals